LEMON Manuals: Even more car manuals for everyone
Home >> Infiniti >> 2013 >> M37 Base >> Repair and Diagnosis >> Steering >> Power Steering >> Steering Control System (With 4WAS) >> Removal And Installation >> 4WAS Rear Actuator Assembly >> Exploded View

Exploded View

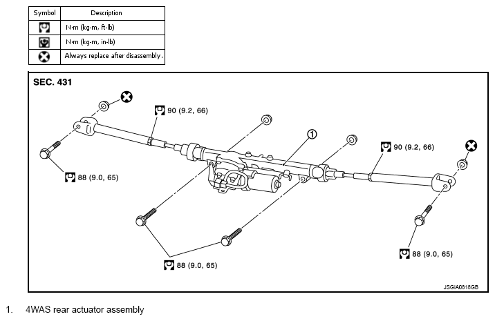
Fig 1: Exploded View Of 4WAS Rear Actuator Assembly With Torque Specifications
G08891653Courtesy of NISSAN NORTH AMERICA, INC.

Refer to "COMPONENTS " for symbols in the figure.