LEMON Manuals: Even more car manuals for everyone
Home >> Infiniti >> 2013 >> M37 Base >> Repair and Diagnosis >> External Pages >> Different car >> Section 57 (Power Window Control System) >> System Description >> Power Window System >> System Diagram >> Front Window Anti-Pinch System

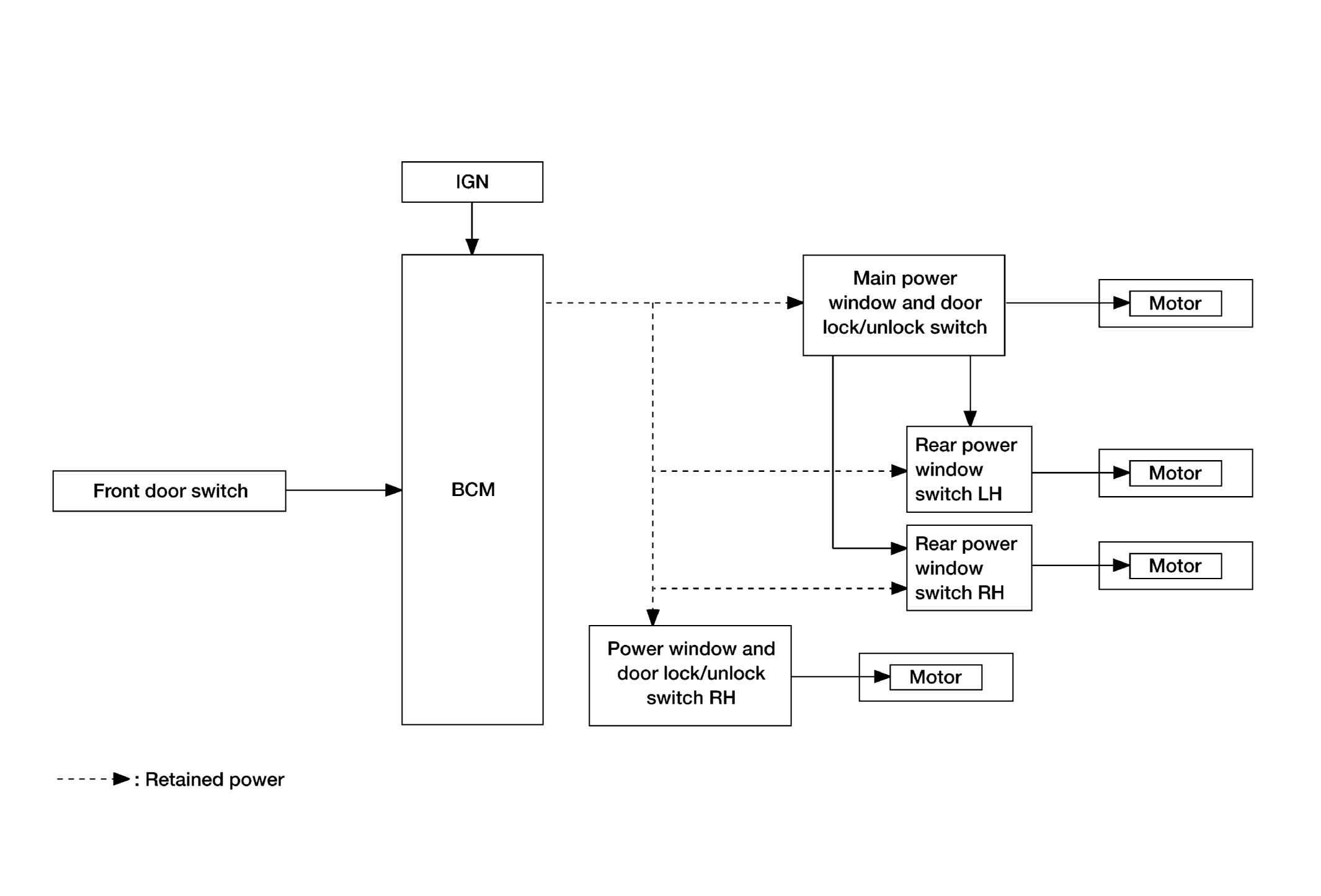
Front Window Anti-Pinch System

WARNING: This page is about a different car, the 2013 Nissan Xterra. However, it is still accessible from the selected car via links, so may be relevant.
Fig 1: Front Window Anti-Pinch System Diagram
G05720879Courtesy of NISSAN NORTH AMERICA, INC.