LEMON Manuals: Even more car manuals for everyone
Home >> Infiniti >> 2013 >> JX35 AWD >> Repair and Diagnosis >> Engine Performance >> System >> Engine Control System (Introduction) >> System Description >> Component Parts >> Infiniti Drive Mode Selector >> EVAP Canister Purge Volume Control Solenoid Valve

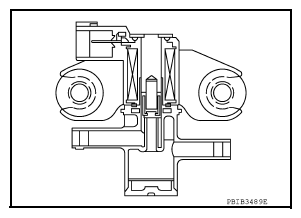
EVAP Canister Purge Volume Control Solenoid Valve

The EVAP canister purge volume control solenoid valve is used to control the flow rate of fuel vapor from the EVAP canister. The EVAP canister purge volume control solenoid valve is moved by ON/OFF pulses from the ECM. The longer the ON pulse, the greater the amount of fuel vapor that will flow through the valve.

Fig 1: Identifying EVAP Canister Purge Volume Control Solenoid Valve
G08769066Courtesy of NISSAN NORTH AMERICA, INC.