LEMON Manuals: Even more car manuals for everyone
Home >> Infiniti >> 2013 >> G37 Base >> Repair and Diagnosis >> External Pages >> Different variant/trim >> Section 40 (Security Control System (Sedan)) >> System Description >> INFINITI Vehicle Immobilizer System-NATS >> System Diagram

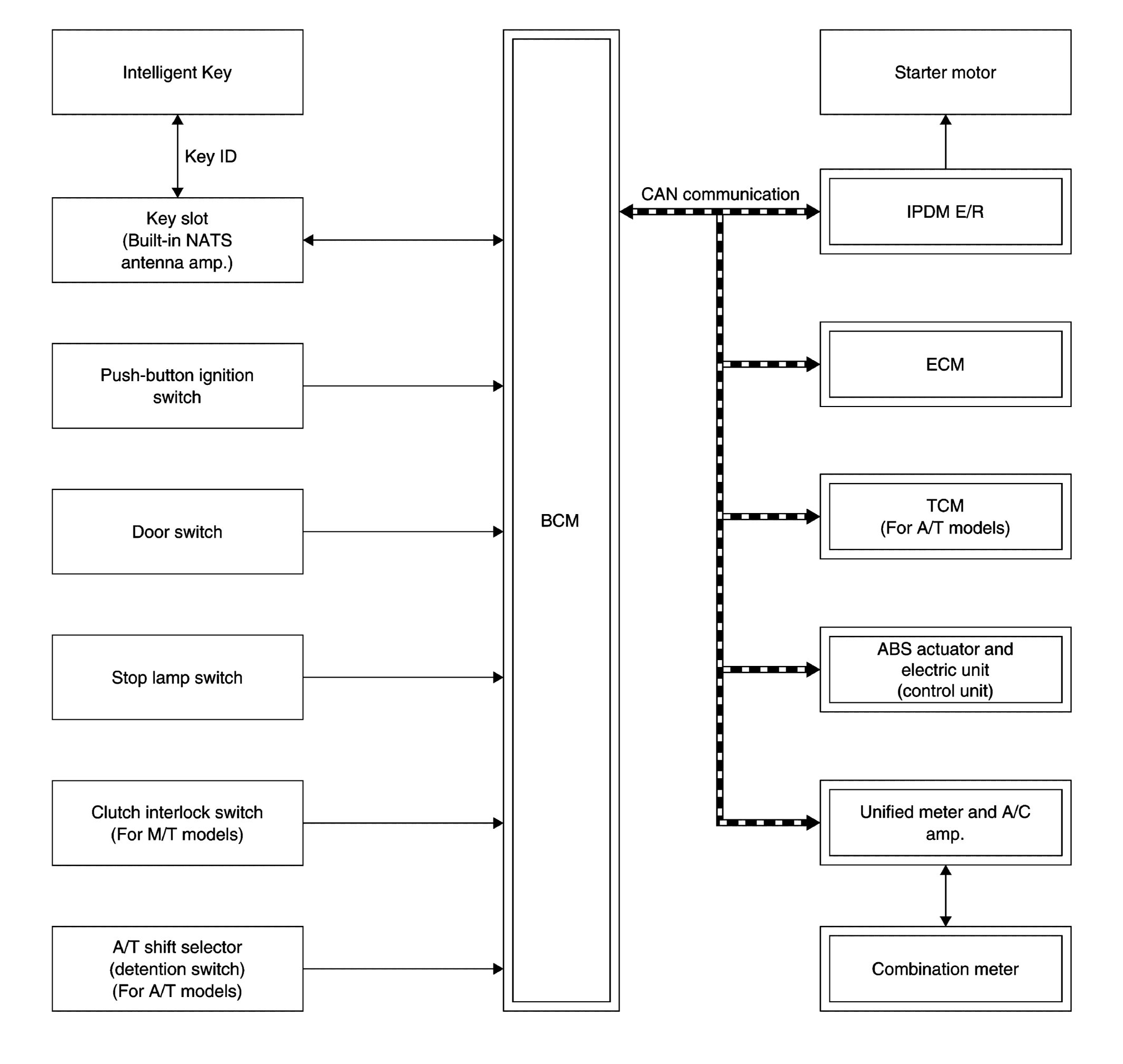
System Diagram

WARNING: This page is about a different variant/trim than selected.
Fig 1: Infiniti Vehicle Immobilizer System-NATS System Diagram
G08219614Courtesy of NISSAN NORTH AMERICA, INC.