LEMON Manuals: Even more car manuals for everyone
Home >> Infiniti >> 2013 >> EX37 Base, AWD >> Repair and Diagnosis >> External Pages >> Different car >> Section 64 (Audio, Visual & Navigation System - Base Audio Without Navigation) >> Base Audio Without Navigation >> Function Diagnosis >> Audio System >> System Diagram

System Diagram

WARNING: This page is about a different car, the 2008 Infiniti EX35. However, it is still accessible from the selected car via links, so may be relevant.
Fig 1: Identifying Audio System Diagram
G05731535Courtesy of NISSAN MOTOR CO., U.S.A.
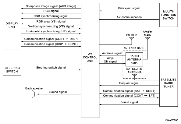
NOTE: A radio antenna base integrated with radio antenna and satellite radio antenna is adopted.
Fig 2: Identifying Radio & Satellite Radio Antenna - Communication Diagram
G05731536Courtesy of NISSAN MOTOR CO., U.S.A.