LEMON Manuals: Even more car manuals for everyone
Home >> Infiniti >> 2013 >> EX37 Base, AWD >> Repair and Diagnosis >> External Pages >> Different car >> Section 38 (Power Control System) >> IPDM E/R >> Function Diagnosis >> Relay Control System >> System Diagram

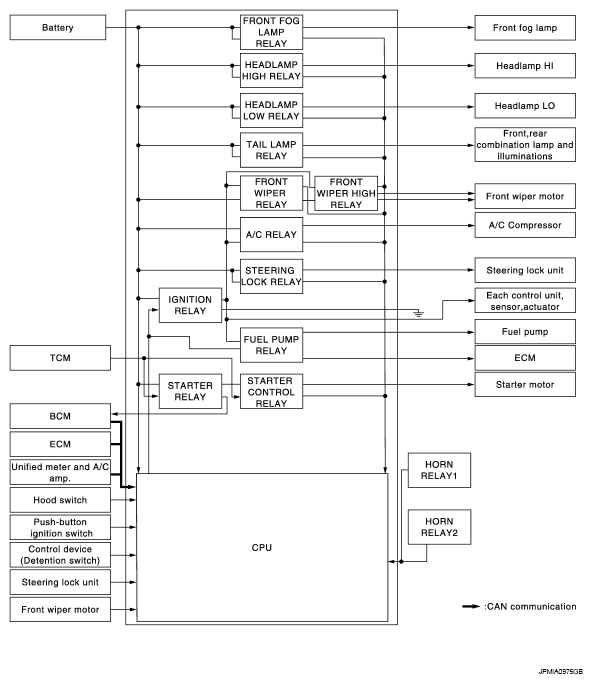
System Diagram

WARNING: This page is about a different car, the 2008 Infiniti EX35. However, it is still accessible from the selected car via links, so may be relevant.
Fig 1: Identifying Relay Control System Diagram
G05730911Courtesy of NISSAN MOTOR CO., U.S.A.