LEMON Manuals: Even more car manuals for everyone
Home >> Infiniti >> 2012 >> M37 Base >> Repair and Diagnosis >> Steering >> Power Steering >> Steering System >> System Description >> System >> System Diagram (Heated Steering Wheel) >> System Description (Heated Steering Wheel) >> System Diagram

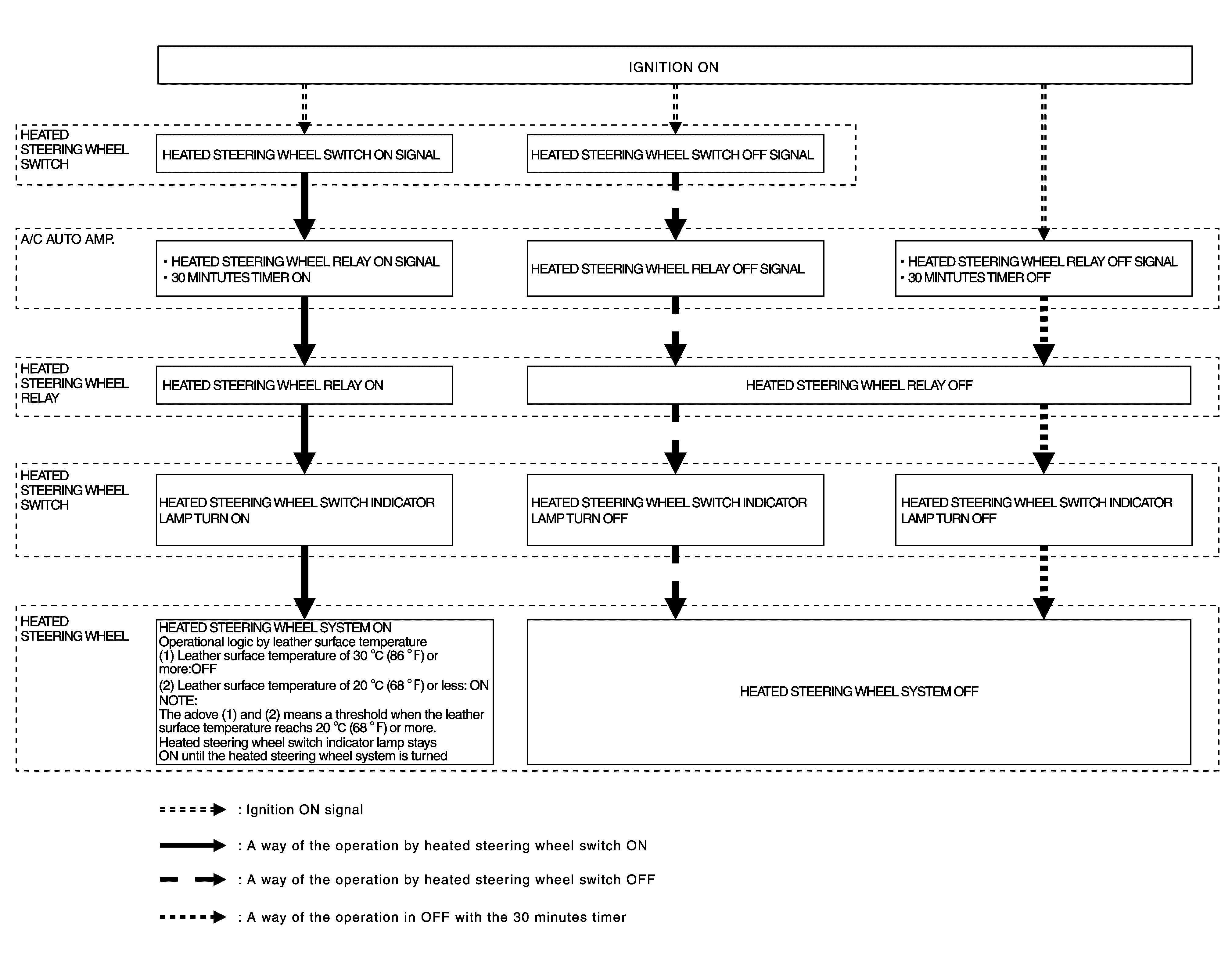
System Diagram

Fig 1: Identifying Heated Steering Wheel System Diagram
G07019540Courtesy of NISSAN NORTH AMERICA, INC.