LEMON Manuals: Even more car manuals for everyone
Home >> Infiniti >> 2012 >> M37 Base >> Repair and Diagnosis >> External Pages >> Different car >> Section 139 (Power Control System (Power Distribution System)) >> DTC/Circuit Diagnosis >> DTC B2614: Acc Relay Circuit >> Component Inspection

Component Inspection

WARNING: This page is about a different car, the 2013 Infiniti M56 and 2013 Infiniti M37. However, it is still accessible from the selected car via links, so may be relevant.
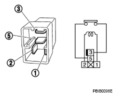
  1. CHECK ACCESSORY RELAY 
    1. Turn ignition switch OFF.
    2. Remove accessory relay.
    3. Check the continuity between accessory relay terminals.
      Terminals Condition Continuity
      3 and 5 12 V direct current supply between terminals 1 and 2 Existed
      No current supply Not existed

      Is the inspection result normal? 

      YES: INSPECTION END

      NO: Replace accessory relay

      Fig 1: Identifying Relay Terminals
      G07129475Courtesy of NISSAN NORTH AMERICA, INC.