LEMON Manuals: Even more car manuals for everyone
Home >> Infiniti >> 2012 >> M37 Base >> Repair and Diagnosis (Single Page) >> Transmission >> Automatic Transmission >> System Description >> System >> A/T Control System >> A/T CONTROL SYSTEM: System Diagram

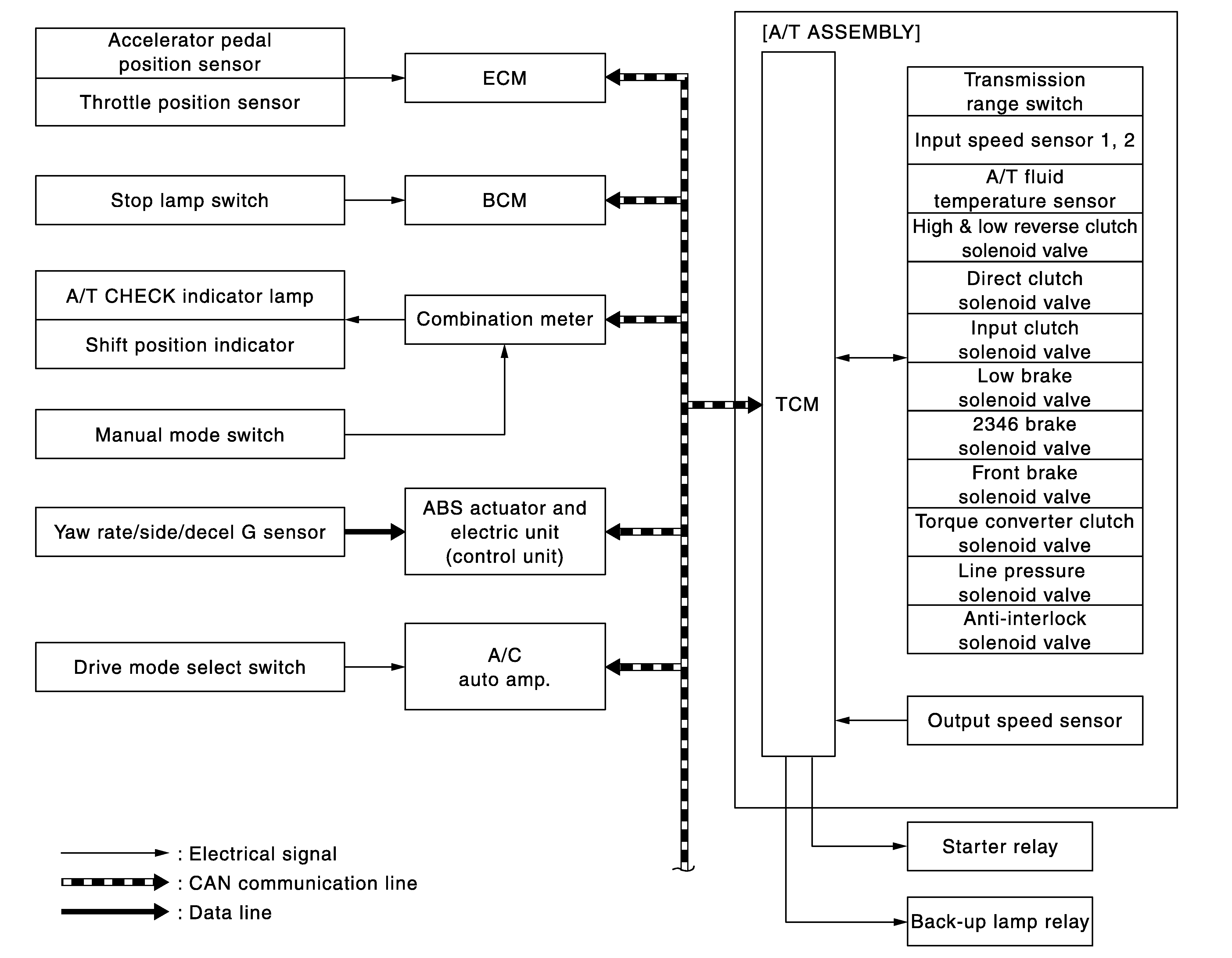
A/T CONTROL SYSTEM: System Diagram

Fig 1: A/T Control System Diagram
G07018732Courtesy of NISSAN NORTH AMERICA, INC.