LEMON Manuals: Even more car manuals for everyone
Home >> Infiniti >> 2012 >> G37 Base, 2D Convertible >> Repair and Diagnosis >> External Pages >> Different car >> Section 75 (Security Control System -- G37 Convertible) >> System Description >> INFINITI Vehicle Immobilizer System-NATS >> System Diagram

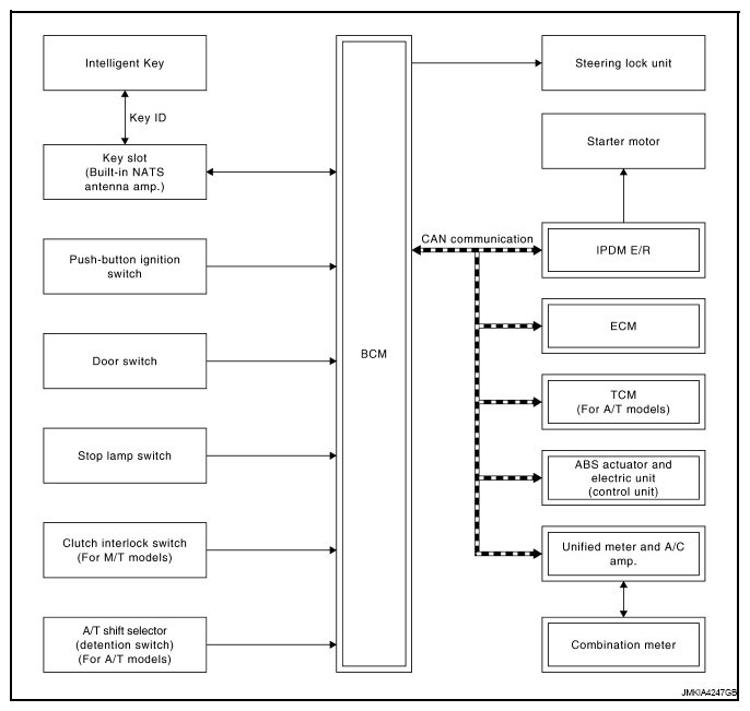
System Diagram

WARNING: This page is about a different car, the 2010 Infiniti G37. However, it is still accessible from the selected car via links, so may be relevant.
Fig 1: Infiniti Vehicle Immobilizer System-Nats - System Diagram
G06623320Courtesy of NISSAN MOTOR CO., U.S.A.