LEMON Manuals: Even more car manuals for everyone
Home >> Infiniti >> 2012 >> G37 Base, 2D Convertible >> Repair and Diagnosis >> External Pages >> Different car >> Section 179 (Power Window Control System) >> Coupe >> System Description >> Power Window System >> System Diagram

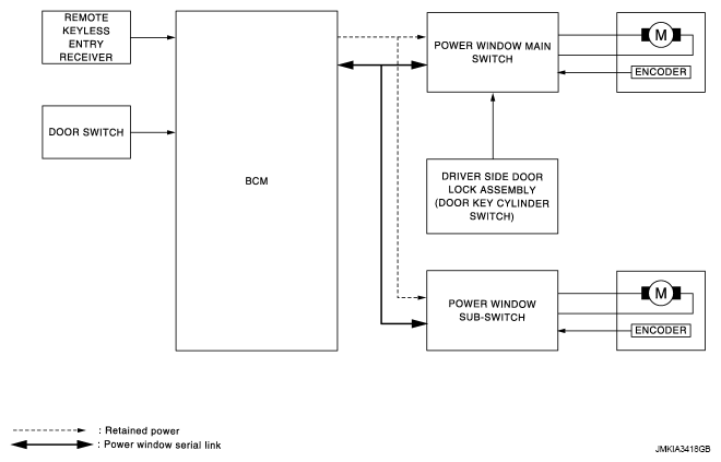
System Diagram

WARNING: This page is about a different car, the 2011 Nissan 370Z. However, it is still accessible from the selected car via links, so may be relevant.
Fig 1: Power Window System Diagram
G07101910Courtesy of NISSAN MOTOR CO., U.S.A.