LEMON Manuals: Even more car manuals for everyone
Home >> Infiniti >> 2012 >> G37 Base, 2D Convertible >> Repair and Diagnosis >> Accessories & Equipment >> Anti-Theft Systems >> Security Control System (Convertible) >> System Description >> Vehicle Security System >> System Diagram

System Diagram

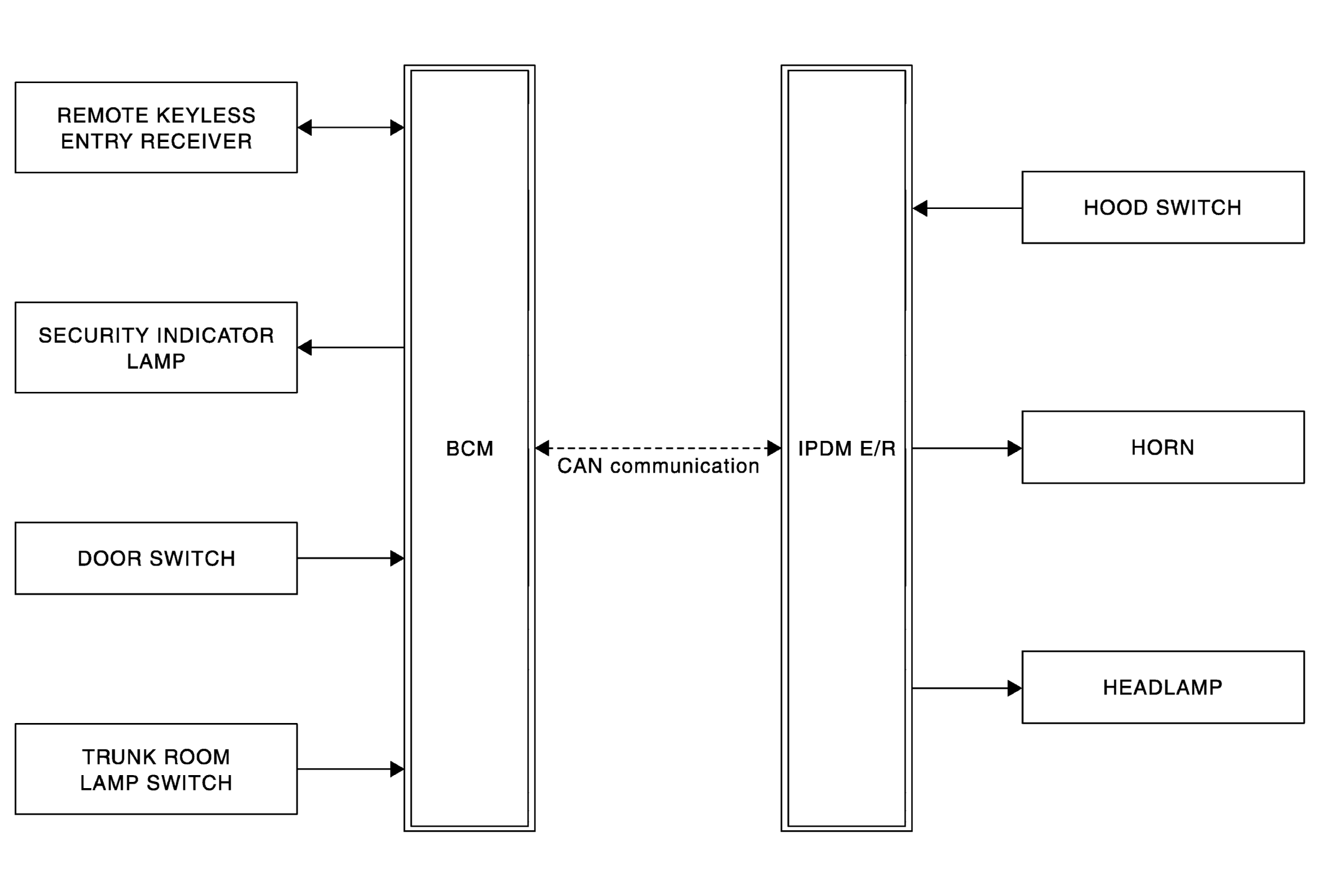
Fig 1: Identifying Vehicle Security System Diagram
G05974267Courtesy of NISSAN NORTH AMERICA, INC.