LEMON Manuals: Even more car manuals for everyone
Home >> Infiniti >> 2012 >> G25 Base >> Repair and Diagnosis >> External Pages >> Different car >> Section 82 (Security Control System) >> System Description >> Vehicle Security System >> System Diagram

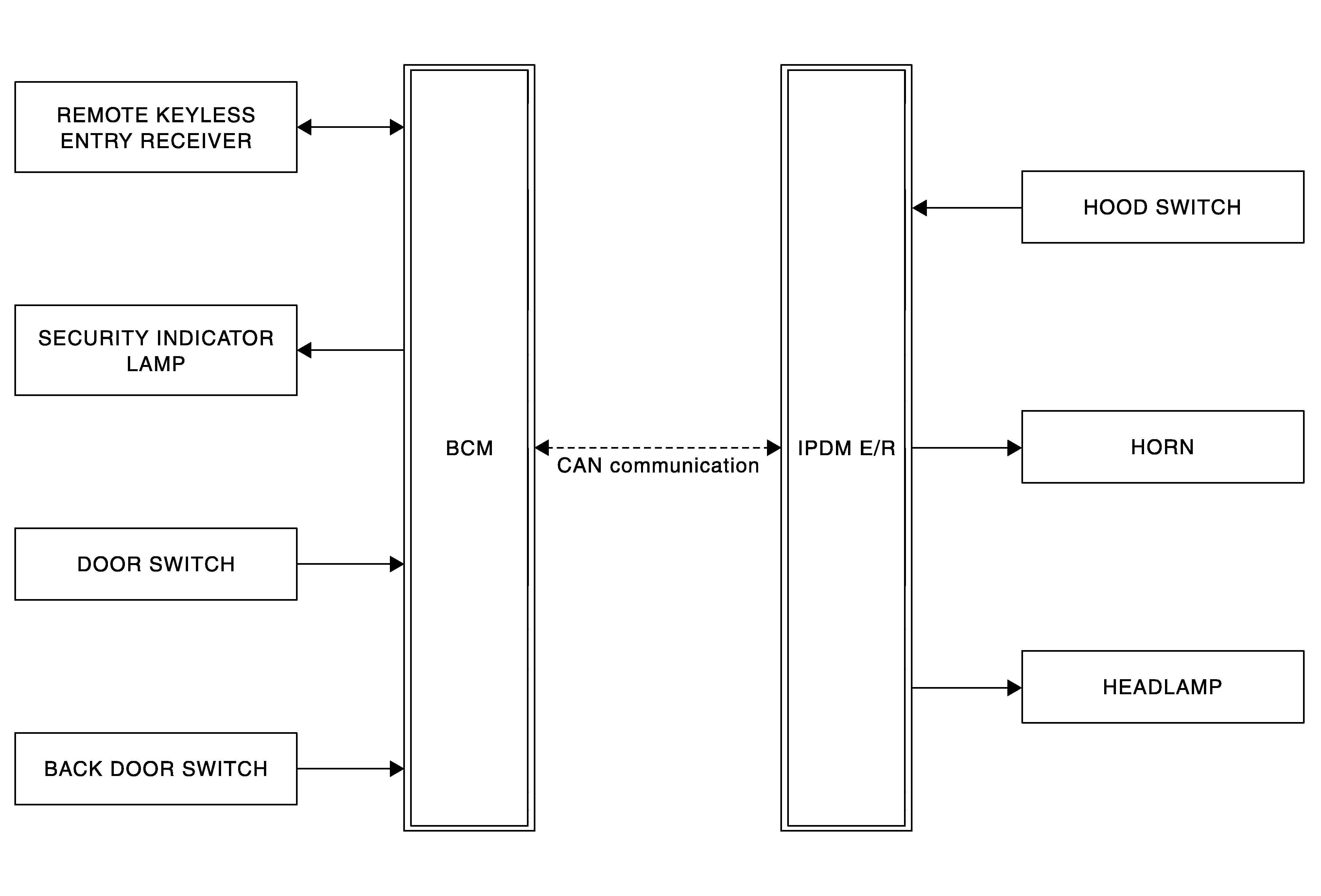
System Diagram

WARNING: This page is about a different car, the 2011 Nissan 370Z. However, it is still accessible from the selected car via links, so may be relevant.
Fig 1: Vehicle Security System - System Diagram
G06049809Courtesy of NISSAN MOTOR CO., U.S.A.