LEMON Manuals: Even more car manuals for everyone
Home >> Infiniti >> 2012 >> G25 Base >> Repair and Diagnosis >> External Pages >> Different car >> Section 21 (Power Control System) >> [IPDM E/R] >> System Description >> System >> Relay Control System >> RELAY CONTROL SYSTEM : System Description

RELAY CONTROL SYSTEM : System Description

WARNING: This page is about a different car, the 2011 Nissan Leaf. However, it is still accessible from the selected car via links, so may be relevant.

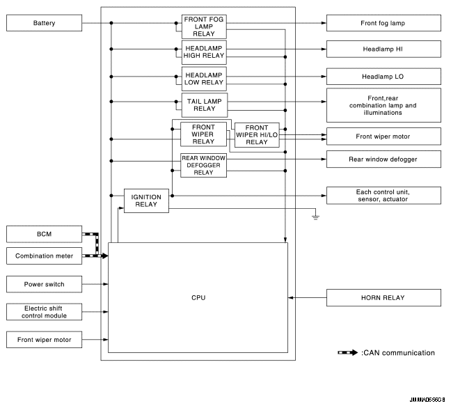
SYSTEM DIAGRAM

Fig 1: Relay Control System Diagram
G07088255Courtesy of NISSAN MOTOR CO., U.S.A.

DESCRIPTION

IPDM E/R activates the internal control circuit to perform the relay ON-OFF control according to the input signals from various sensors and the request signals received from control units via CAN communication.

CAUTION: To prevent damage to the parts, IPDM E/R integrated relays cannot be removed.
RELAY CONTROL SYSTEM REFERENCE CHART

Control relay Input/output Transmit unit Control part Reference Information
  • Headlamp low relay
  • Headlamp high relay
  • Low beam request signal
  • High beam request signal
BCM (CAN)
  • Headlamp (LO)
  • Headlamp (HI)
SYSTEM
Front fog lamp relay Front fog light request signal BCM (CAN) Front fog lamp FRONT FOG LAMP SYSTEM
Tail lamp relay Position light request signal BCM (CAN)
  • Parking lamp
  • License plate lamp
  • Tail lamp
  • Side marker lamp
TURN SIGNAL AND HAZARD WARNING LAMP SYSTEM : SCHEMATIC
Illumination SYSTEM
  • Front wiper relay
  • Front wiper HI/LO relay
Front wiper request signal BCM (CAN) Front wiper motor SYSTEM
Front wiper stop position signal Front wiper motor
Rear window defogger relay Rear window defogger control signal BCM (CAN) Rear window defogger SYSTEM
Horn relay Theft warning horn request signal BCM (CAN) Vehicle security horn VEHICLE SECURITY SYSTEM : SYSTEM DIAGRAM
Ignition relay Power switch ON signal BCM (CAN) Each control unit, sensor, actuator and relay (Ignition power supply) B2098 IGNITION RELAY ON STUCK 
Vehicle speed signal (Meter) Combination meter (CAN)
Power switch signal Power switch