LEMON Manuals: Even more car manuals for everyone
Home >> Infiniti >> 2012 >> G25 Base >> Repair and Diagnosis >> External Pages >> Different car >> Section 17 (Security Control System) >> System Description >> System >> Intelligent Key System/Ready Set Function >> INTELLIGENT KEY SYSTEM/READY SET FUNCTION : System Description >> System Diagram

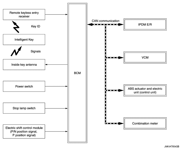
System Diagram

WARNING: This page is about a different car, the 2011 Nissan Leaf. However, it is still accessible from the selected car via links, so may be relevant.
Fig 1: Intelligent Key System/Ready Set Function - System Diagram
G07087413Courtesy of NISSAN MOTOR CO., U.S.A.