LEMON Manuals: Even more car manuals for everyone
Home >> Infiniti >> 2012 >> EX35 Base, AWD >> Repair and Diagnosis >> External Pages >> Different car >> Section 68 (Audio, Visual & Navigation System - BOSE Audio With Navigation - Basic Inspection And Function Diagnosis) >> BOSE Audio With Navigation >> Function Diagnosis >> Multi Av System >> System Diagram >> Without Rear View Monitor And Around View Monitor

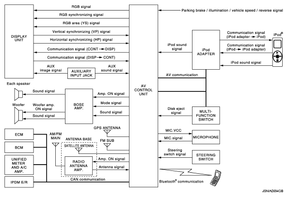
Without Rear View Monitor And Around View Monitor

WARNING: This page is about a different car, the 2008 Infiniti EX35. However, it is still accessible from the selected car via links, so may be relevant.
Fig 1: Identifying Multi AV System - System Diagram (Without Rear View Monitor & Around View Monitor)
G05732026Courtesy of NISSAN MOTOR CO., U.S.A.
NOTE:
  • The name MULTIFUNCTION SWITCH indicates the integration of PRESET SWITCH and MULTIFUNCTION SWITCH virtually.
  • A radio antenna base integrated with radio antenna and satellite radio antenna is adopted.
Fig 2: Identifying Integrated With Radio Antenna & Satellite Radio Antenna Signal
G05732027Courtesy of NISSAN MOTOR CO., U.S.A.