LEMON Manuals: Even more car manuals for everyone
Home >> Infiniti >> 2011 >> QX56 AWD >> Repair and Diagnosis >> Engine Performance >> System >> Engine Control System - Introduction >> System Description >> Component Parts >> Electrically-controlled cooling fan coupling

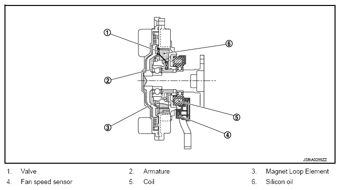
Electrically-controlled cooling fan coupling

Electrically-controlled cooling fan coupling is integrated with a fan coupling, fan coupling driver, and fan speed sensor, mounted to the fan pulley, and actuated by the drive belt to rotate the cooling fan at a speed suitable for a driving condition.

Fig 1: Sectional View Of Electrically-Controlled Cooling Fan Coupling
G07026150Courtesy of NISSAN MOTOR CO., U.S.A.