LEMON Manuals: Even more car manuals for everyone
Home >> Infiniti >> 2011 >> M37 Base >> Repair and Diagnosis >> External Pages >> Different car >> Section 90 (Security Control System) >> System Description >> System >> Vehicle Security System >> VEHICLE SECURITY SYSTEM: System Diagram

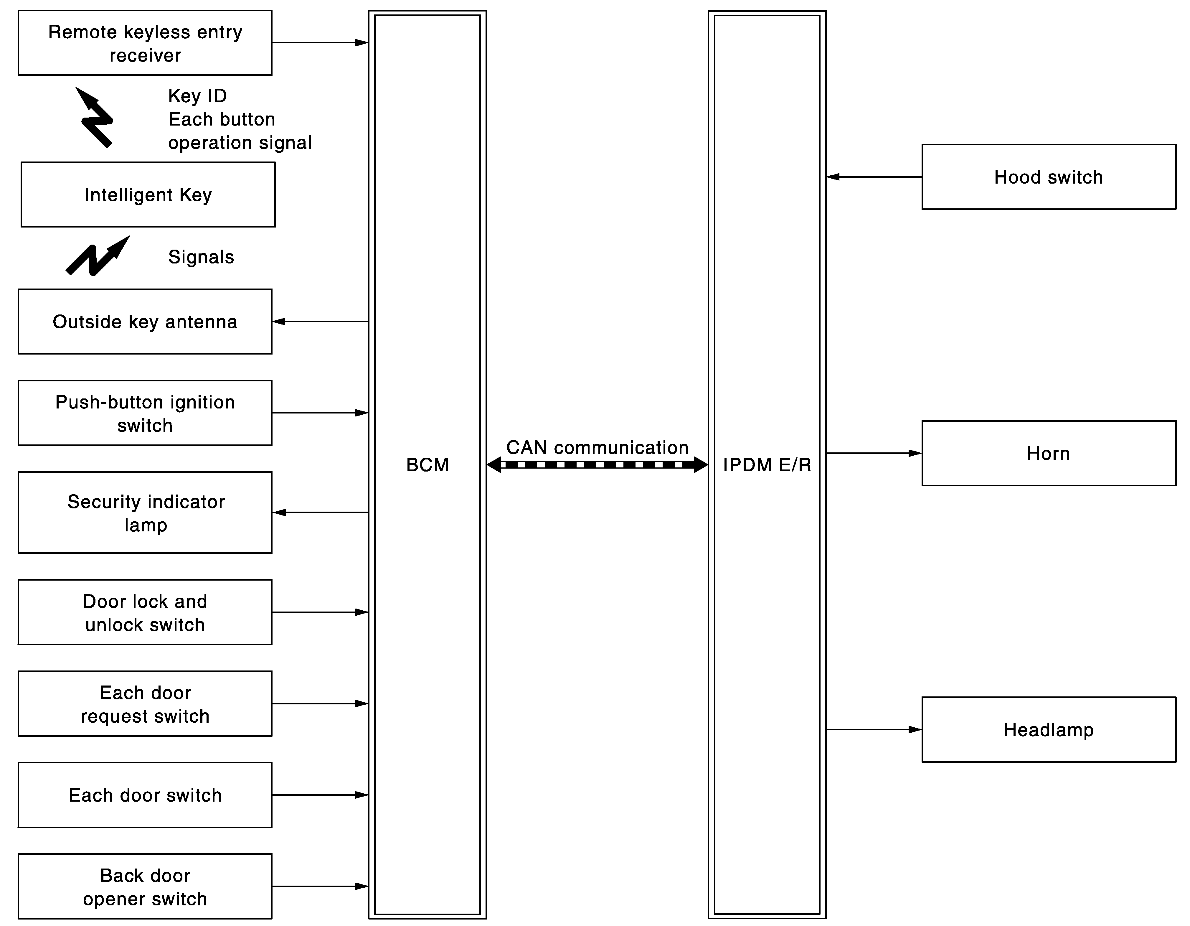
VEHICLE SECURITY SYSTEM: System Diagram

WARNING: This page is about a different car, the 2012 Infiniti QX56. However, it is still accessible from the selected car via links, so may be relevant.
Fig 1: Identifying Vehicle Security System Diagram
G07022310Courtesy of NISSAN NORTH AMERICA, INC.