LEMON Manuals: Even more car manuals for everyone
Home >> Infiniti >> 2011 >> G37 Base, 2D Convertible >> Repair and Diagnosis >> External Pages >> Different variant/trim >> Section 33 (Security Control System -- G25/G37 Sedan) >> System Description >> Intelligent Key System/Engine Start Function >> System Diagram

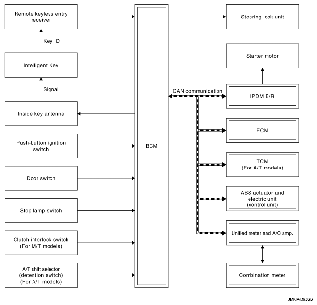
System Diagram

WARNING: This page is about a different variant/trim than selected.
Fig 1: Intelligent Key System/Engine Start Function System Diagram
G06618898Courtesy of NISSAN MOTOR CO., U.S.A.