LEMON Manuals: Even more car manuals for everyone
Home >> Infiniti >> 2011 >> G25 Base >> Repair and Diagnosis >> External Pages >> Different car >> Section 159 (Audio System, Visual System & Navigation System (BOSE Audio With Navigation) -- G37 Convertible) >> Removal And Installation >> Rear View Camera >> Adjustment

Rear View Camera: Adjustment

WARNING: This page is about a different car, the 2011 Infiniti G37. However, it is still accessible from the selected car via links, so may be relevant.

Adjust the guide line position if the guide line position is shifted after installing the rear view camera.

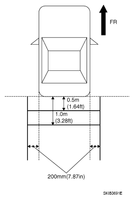
  1. Draw lines on rearward area of the vehicle passing through the following points: 200 mm (7.87 in) from both sides of the vehicle, and 0.5 m (1.64 ft), 1.0 m (3.28 ft) from the rear end of the bumper.
  2. Set into "Adjust offset of rear view camera" mode of Confirmation/Adjustment mode.
    Fig 1: Identifying Guide Line Position
    G07161604Courtesy of NISSAN MOTOR CO., U.S.A.
  3. Rotate the center dial, and then select the guiding line pattern so that its angle is aligned with the correction line of the rear of the vehicle.

    Selected pattern : (-10° - (10°

  4. Make fine adjustment to the correction line of the rear of the vehicle with up/down/left/right switches so that its position is aligned with the guiding line. Press "OK" switch and record the adjusted guiding line position to the camera control unit.

    Up/Down adjustment range : (-10° - (10°

    Left/Right adjustment range : (-10°) - (10°)

    Fig 2: Identifying Guiding Line Pattern
    G07161605Courtesy of NISSAN MOTOR CO., U.S.A.
    CAUTION: Never operate other function such as pressing BACK while writing index data.