LEMON Manuals: Even more car manuals for everyone
Home >> Infiniti >> 2010 >> M35 Base >> Repair and Diagnosis >> Engine Performance >> System >> Engine Control System - System And Component Testing >> Cooling Fan >> Component Inspection (Cooling Fan Relay)

Component Inspection (Cooling Fan Relay)

  1. CHECK COOLING FAN RELAY
    1. Turn ignition switch OFF.
    2. Remove cooling fan relay.
    3. Check the continuity between cooling fan relay terminals under the following conditions.
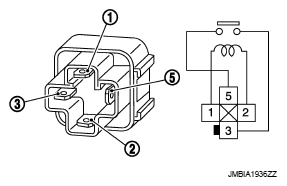
      CONNECTOR TERMINAL CONTINUITY CHART

      Terminals Conditions Continuity
      3 and 5 12 V direct current supply between terminals 1 and 2 Existed
      No current supply Not existed
      Fig 1: Identifying Relay Terminals
      G06306796Courtesy of NISSAN MOTOR CO., U.S.A.

      Is the inspection result normal? 

      YES: INSPECTION END

      NO: Replace cooling fan relay.