LEMON Manuals: Even more car manuals for everyone
Home >> Infiniti >> 2009 >> QX56 AWD >> Repair and Diagnosis >> Body & Frame >> Windows >> Power Window Control System >> Function Diagnosis >> Power Window System >> System Diagram >> Power Window Anti-Pinch System

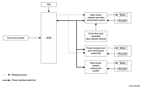
Power Window Anti-Pinch System

Fig 1: Power Window System - System Diagram
G05742424Courtesy of NISSAN MOTOR CO., U.S.A.