LEMON Manuals: Even more car manuals for everyone
Home >> Infiniti >> 2008 >> FX35 RWD >> Repair and Diagnosis >> Engine Performance >> Engine Control Systems >> Engine Control System - Component System Testing (VQ35DE) >> ICC Brake Switch >> Component Inspection >> ICC Brake Hold Relay

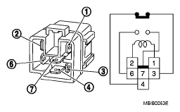
ICC Brake Hold Relay

  1. Apply 12V direct current between ICC brake hold relay terminals 1 and 2.
  2. Check continuity between relay terminals 3 and 4, 6 and 7 under the following conditions.
    CONTINUITY REFERENCE

    Condition Between terminals Continuity
    12V direct current supply between terminals 1 and 2 3 and 4 Should not exist.
    6 and 7 Should exist.
    No current supply 3 and 4 Should exist.
    6 and 7 Should not exist.
  3. If NG, replace ICC brake hold relay.
Fig 1: Identifying ICC Brake Hold Relay Terminals
G05229058Courtesy of NISSAN MOTOR CO., U.S.A.