LEMON Manuals: Even more car manuals for everyone
Home >> Infiniti >> 2008 >> FX35 AWD >> Repair and Diagnosis >> Engine Performance >> Engine Control Systems >> Engine Control System - Component System Testing (VQ35DE) >> Refrigerant Pressure Sensor >> Wiring Diagram

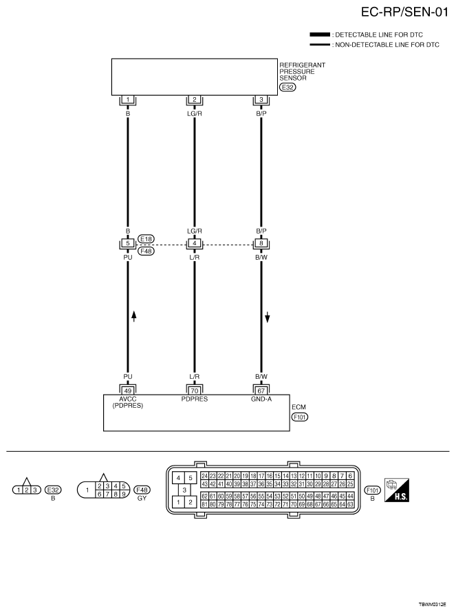
Refrigerant Pressure Sensor: Wiring Diagram

For PG-POWER, refer to POWER SUPPLY, GROUND & CIRCUIT ELEMENTS .

Fig 1: EC-RP/SEN-01 - Wiring Diagram
G05216978Courtesy of NISSAN MOTOR CO., U.S.A.

Specification data are reference values and are measured between each terminal and ground.

CAUTION: Do not use ECM ground terminals when measuring input/output voltage. Doing so may result in damage to the ECM's transistor. Use a ground other than ECM terminals, such as the ground.
ECM INSPECTION TABLE

TERMINAL NO. WIRE COLOR ITEM CONDITION DATA (DC Voltage)
49 PU Sensor power supply (Refrigerant pressure sensor) [Ignition switch: ON]  Approximately 5V
67 B/W Sensor ground [Engine is running] 
  • Warm-up condition 
  • Idle speed
Approximately 0V
70 L/R Refrigerant pressure sensor [Engine is running] 
  • Warm-up condition 
  • Both A/C switch and blower fan switch: ON (Compressor operates)
1.0 - 4.0V