LEMON Manuals: Even more car manuals for everyone
Home >> Infiniti >> 2008 >> EX35 Base, RWD >> Repair and Diagnosis >> Engine Performance >> Engine Control Systems >> Engine Control System - Component Testing >> Cooling Fan >> Component Inspection (Cooling Fan Relay)

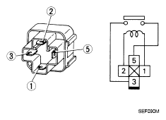
Component Inspection (Cooling Fan Relay)

  1. CHECK COOLING FAN RELAY
    1. Turn ignition switch OFF.
    2. Remove cooling fan relay.
    3. Check the continuity between cooling fan relay terminals under the following conditions.
      CONTINUITY SPECIFICATIONS

      Terminals Conditions Continuity
      3 and 5 12 V direct current supply between terminals 1 and 2 Existed
      No current supply Not existed
      Fig 1: Checking Cooling Fan Relay
      G05030026Courtesy of NISSAN MOTOR CO., U.S.A.

    Is the inspection result normal? 

    YES: INSPECTION END

    NO: Replace cooling fan relay.