LEMON Manuals: Even more car manuals for everyone
Home >> Infiniti >> 2008 >> EX35 Base, AWD >> Repair and Diagnosis >> Brakes >> Traction Control >> Brake Control System >> On-Vehicle Repair >> Yaw Rate/Side G Sensor >> Exploded View

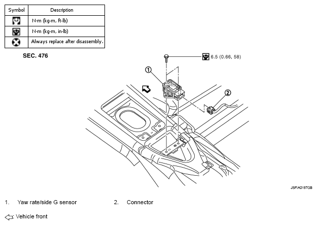
Exploded View

Fig 1: Exploded View Of Yaw Rate/Side G Sensor With Torque Specifications
G05729576Courtesy of NISSAN MOTOR CO., U.S.A.