LEMON Manuals: Even more car manuals for everyone
Home >> Infiniti >> 2007 >> M35 Base >> Repair and Diagnosis >> Transmission >> Transfer Case >> AWD System >> System Diagram >> Notes

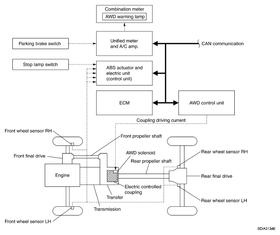
System Diagram: Notes

Fig 1: System Diagram
G05218967