LEMON Manuals: Even more car manuals for everyone
Home >> Infiniti >> 2007 >> M35 Base >> Repair and Diagnosis (Single Page) >> Transmission >> Automatic Transmission >> A/T Control System >> TCM Function >> Control System Diagram

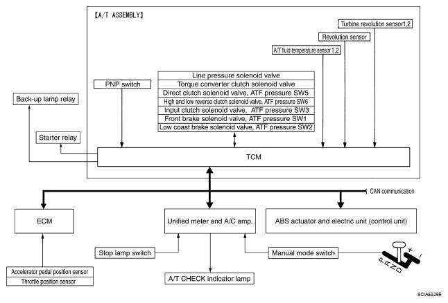
Control System Diagram

Fig 1: Control System Diagram
G05217919