LEMON Manuals: Even more car manuals for everyone
Home >> Infiniti >> 2007 >> M35 Base >> Repair and Diagnosis (Single Page) >> Accessories & Equipment >> Anti-Theft Systems >> Body, Lock & Security System >> Intelligent Key System/Engine Start Function >> DTC B2557: Vehicle Speed >> Diagnostic Procedure

Diagnostic Procedure

  1. CHECK VEHICLE SPEED SIGNAL 

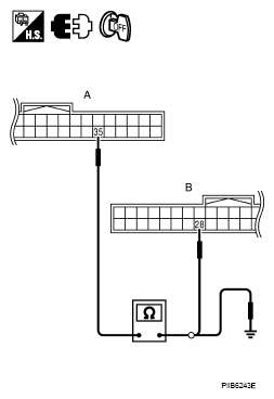
    Check the signal between Intelligent Key unit connector and ground.

    SIGNAL REFERENCE VALUE CHART

    Terminals Condition Signal (Reference value)
    (+) (-)
    Intelligent Key unit connector Terminal
    M32 35 Ground Speed meter operated [When vehicle speed is Approx. 40 km/h (25MPH)]
    G04877479
    Fig 1: Checking Signal Between Intelligent Key Unit Connector Terminal 35 And Ground
    G05212337

    OK or NG 

    OK: Check the condition of harness and connector. If it is OK, check the self-diagnosis results using CONSULT-II again.

    NG: GO TO 2.

  2. CHECK HARNESS CONTINUITY 
    1. Turn ignition switch OFF.
    2. Disconnect Intelligent Key unit and unified meter and A/C amp. Connector.
    3. Check continuity between Intelligent Key unit connector and unified meter and A/C amp. Connector.
      TERMINAL CONTINUITY CHART

      A B Continuity
      Intelligent Key unit connector Terminal Unified meter and A/C amp. connector Terminal
      M32 35 M64 28 Yes
    4. Check continuity between Intelligent Key unit connector and ground.
      TERMINAL CONTINUITY CHART

      A Ground Continuity
      Intelligent Key unit connector Terminal
      M32 35 No

    OK or NG 

    OK:

    • If the measured value is not waveform but 0V constant, the harness or connector between the using receiving the vehicle speed signal from unified meter and A/C amp. may be malfunctioning. Check these wirings.
    • If the measured value is not waveform but 5V or 12V constant, replace unified meter and A/C amp.

    NG: Repair or replace harness.

    Fig 2: Checking Continuity Between Intelligent Key Unit Connector And Unified Meter And A/C Amp
    G05212338