LEMON Manuals: Even more car manuals for everyone
Home >> Infiniti >> 2006 >> QX56 AWD >> Repair and Diagnosis >> Engine Performance >> System >> Engine Control System - Introduction >> Basic Service Procedure >> Basic Inspection

Basic Inspection

  1. INSPECTION START 
    1. Check service records for any recent repairs that may indicate a related malfunction, or a current need for scheduled maintenance.
    2. Open engine hood and check the following:
      • Harness connectors for improper connections
      • Wiring harness for improper connections, pinches and cut
      • Vacuum hoses for splits, kinks and improper connections
      • Hoses and ducts for leaks
      • Air cleaner clogging
      • Gasket
        Fig 1: Inspecting For Damage To Harness And Hoses
        G04074533Courtesy of NISSAN MOTOR CO., U.S.A.
    3. Confirm that electrical or mechanical loads are not applied.
      • Headlamp switch is OFF.
      • Air conditioner switch is OFF.
      • Rear window defogger switch is OFF.
      • Steering wheel is in the straight-ahead position, etc.
    4. Start engine and warm it up until engine coolant temperature indicator points the middle of gauge.

      Ensure engine stays below 1, 000 rpm.

      Fig 2: Engine Coolant At Specified Temperature
      G04074534Courtesy of NISSAN MOTOR CO., U.S.A.
    5. Run engine at about 2, 000 rpm for about 2 minutes under no load.
    6. Make sure that no DTC is displayed with CONSULT-II or GST.

    OK or NG 

    1. OK : GO TO  3.
    2. NG : GO TO 2.
      Fig 3: Run Engine At Specified RPM
      G04074535Courtesy of NISSAN MOTOR CO., U.S.A.
  2. REPAIR OR REPLACE 

    Repair or replace components as necessary according to corresponding Diagnostic Procedure.

    1. : GO TO 3.
  3. CHECK TARGET IDLE SPEED 

    With CONSULT-II 

    1. Run engine at about 2, 000 rpm for about 2 minutes under no load.
    2. Rev engine (2, 000 to 3, 000 rpm) two or three times under no load, then run engine at idle speed for about 1 minute.
      Fig 4: Identifying Target Idle Speed On Engine RPM Meter
      G04132561Courtesy of NISSAN MOTOR CO., U.S.A.
    3. Read idle speed in " DATA MONITOR" mode with CONSULT-II. Refer to "IDLE SPEED ".

      650 +/- 50 rpm (in P or N position) 

      Fig 5: Consult-II DATA MONITOR Display Screen
      G04080353Courtesy of NISSAN MOTOR CO., U.S.A.

    Without CONSULT-II 

    1. Run engine at about 2, 000 rpm for about 2 minutes under no load.
    2. Rev engine (2, 000 to 3, 000 rpm) two or three times under no load, then run engine at idle speed for about 1 minute.
    3. Check idle speed.

      Refer to "IDLE SPEED ".

      650 +/- 50 rpm (in P or N position) 

    OK or NG 

    1. OK : GO TO  10.
    2. NG : GO TO 4.
  4. PERFORM ACCELERATOR PEDAL RELEASED POSITION LEARNING 
    1. Stop engine.
    2. Perform "ACCELERATOR PEDAL RELEASED POSITION LEARNING ".
      1. : GO TO 5.
  5. PERFORM THROTTLE VALVE CLOSED POSITION LEARNING 

    Perform "THROTTLE VALVE CLOSED POSITION LEARNING ".

    1. : GO TO 6.
  6. PERFORM IDLE AIR VOLUME LEARNING 

    Refer to "IDLE AIR VOLUME LEARNING ".

    Is Idle Air Volume Learning carried out successfully? 

    Yes or No 

    1. Yes : GO TO 7.
    2. No :
      1. Follow the instruction of Idle Air Volume Learning.
      2. GO TO  4.
  7. CHECK TARGET IDLE SPEED AGAIN 

    With CONSULT-II 

    1. Start engine and warm it up to normal operating temperature.
    2. Read idle speed in " DATA MONITOR" mode with CONSULT-II.

      Refer to "IDLE SPEED ".

      650 +/- 50 rpm (in P or N position) 

    Without CONSULT-II 

    1. Start engine and warm it up to normal operating temperature.
    2. Check idle speed.

      Refer to "IDLE SPEED ".

      650 +/- 50 rpm (in P or N position) 

    OK or NG 

    1. OK : GO TO  10.
    2. NG : GO TO 8.
  8. DETECT MALFUNCTIONING PART 

    Check the following.

    OK or NG 

    1. OK : GO TO 9.
    2. NG :
      1. Repair or replace.
      2. GO TO  4.
  9. CHECK ECM FUNCTION 
    1. Substitute another known-good ECM to check ECM function. (ECM may be the cause of an incident, but this is a rare case.)
    2. Perform initialization of IVIS (NATS) system and registration of all IVIS (NATS) ignition key IDs. Refer to "ECM RE-COMMUNICATING FUNCTION ".
      1. : GO TO  4.
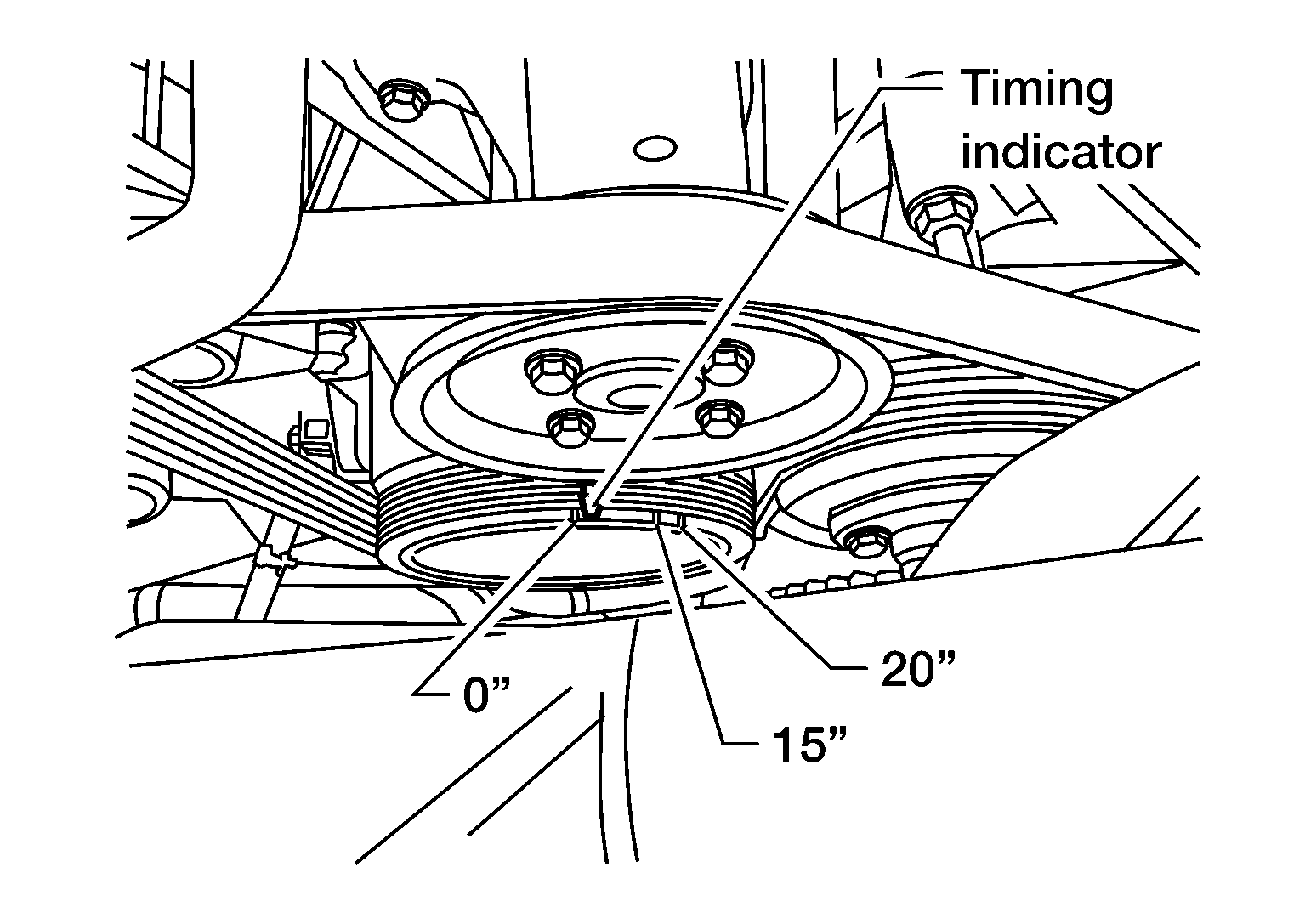
  10. CHECK IGNITION TIMING 
    1. Run engine at idle.
    2. Check ignition timing with a timing light.

      Refer to "IGNITION TIMING ".

      15 +/- 5° BTDC (in P or N position) 

    OK or NG 

    1. OK : GO TO  19.
    2. NG : GO TO 11.
      Fig 6: Identifying Ignition Timing
      G04132563Courtesy of NISSAN MOTOR CO., U.S.A.
  11. PERFORM ACCELERATOR PEDAL RELEASED POSITION LEARNING 
    1. Stop engine.
    2. Perform "ACCELERATOR PEDAL RELEASED POSITION LEARNING ".
      1. : GO TO 12.
  12. PERFORM THROTTLE VALVE CLOSED POSITION LEARNING 

    Perform "THROTTLE VALVE CLOSED POSITION LEARNING ".

    1. : GO TO 13.
  13. PERFORM IDLE AIR VOLUME LEARNING 

    Refer to "IDLE AIR VOLUME LEARNING ".

    Is Idle Air Volume Learning carried out successfully? 

    Yes or No 

    1. Yes : GO TO 14.
    2. No :
      1. Follow the instruction of Idle Air Volume Learning.
      2. GO TO  4.
  14. CHECK TARGET IDLE SPEED AGAIN 

    With CONSULT-II 

    1. Start engine and warm it up to normal operating temperature.
    2. Read idle speed in " DATA MONITOR" mode with CONSULT-II.

      Refer to "IDLE SPEED ".

      650 +/- 50 rpm (in P or N position) 

    Without CONSULT-II 

    1. Start engine and warm it up to normal operating temperature.
    2. Check idle speed.

      Refer to "IDLE SPEED ".

      650 +/- 50 rpm (in P or N position) 

    OK or NG 

    1. OK : GO TO 15.
    2. NG : GO TO  17.
  15. CHECK IGNITION TIMING AGAIN 
    1. Run engine at idle.
    2. Check ignition timing with a timing light.

      Refer to "IGNITION TIMING ".

      15 +/- 5° BTDC (in P or N position) 

    OK or NG 

    1. OK : GO TO  19.
    2. NG : GO TO 16.
      Fig 7: Identifying Ignition Timing
      G04132564Courtesy of NISSAN MOTOR CO., U.S.A.
  16. CHECK TIMING CHAIN INSTALLATION 

    Check timing chain installation. Refer to "TIMING CHAIN ".

    OK or NG 

    1. OK : GO TO 17.
    2. NG :
      1. Repair the timing chain installation.
      2. GO TO  4.
  17. DETECT MALFUNCTIONING PART 

    Check the following.

    OK or NG 

    1. OK : GO TO 18.
    2. NG :
      1. Repair or replace.
      2. GO TO  4.
  18. CHECK ECM FUNCTION 
    1. Substitute another known-good ECM to check ECM function. (ECM may be the cause of an incident, but this is a rare case.)
    2. Perform initialization of IVIS (NATS) system and registration of all IVIS (NATS) ignition key IDs. Refer to "ECM RE-COMMUNICATING FUNCTION ".
      1. : GO TO  4.
  19. INSPECTION END 

    Did you replace ECM, referring this Basic Inspection procedure?

    Yes or No 

    1. Yes :
      1. Perform "VIN REGISTRATION ".
      2. INSPECTION END 
    2. No : INSPECTION END