LEMON Manuals: Even more car manuals for everyone
Home >> Infiniti >> 2005 >> FX45 >> Repair and Diagnosis >> Steering >> Power Steering System >> Service Data And Specifications (SDS) >> Steering Column

Steering Column

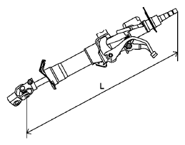
Steering Column - Service Data And Specifications

Steering column length " L1 572 mm (22.52 in)
G05975889