LEMON Manuals: Even more car manuals for everyone
Home >> Infiniti >> 2004 >> M45 >> Repair and Diagnosis >> Brakes >> Traction Control >> Brake Control System >> System Description >> System Diagram

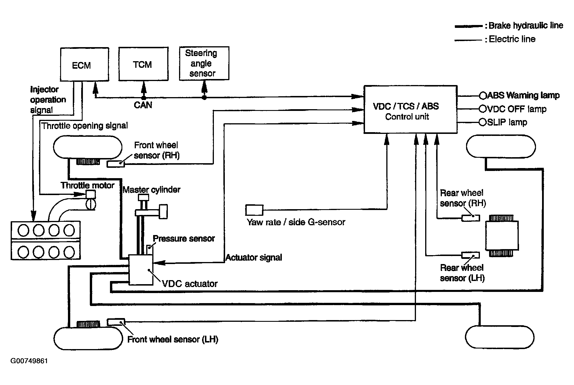
System Diagram

Fig 1: Viewing Brake Control System Components
G00749861Courtesy of NISSAN MOTOR CO., U.S.A.