LEMON Manuals: Even more car manuals for everyone
Home >> Infiniti >> 2004 >> FX45 >> Repair and Diagnosis >> Engine Performance >> Engine Control System >> DTC P1217 Engine Over Temperature >> Overall Function Check

Overall Function Check

Use this procedure to check the overall function of the cooling fan. During this check, a DTC might not be confirmed.

WARNING: Never remove the radiator cap when the engine is hot. Serious burns could be caused by high pressure fluid escaping from the radiator. Wrap a thick cloth around cap. Carefully remove the cap by turning it a quarter turn to allow built-up pressure to escape. Then turn the cap all the way off.

With CONSULT-II 

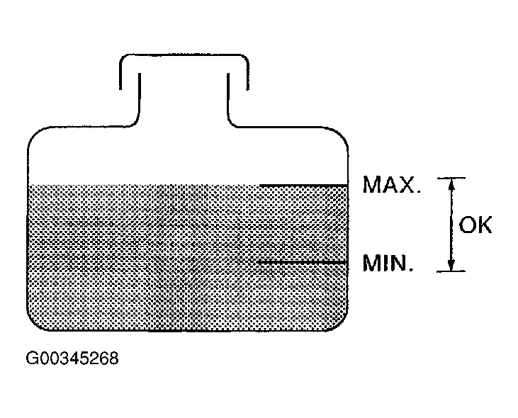
  1. Check the COOLANT level in the reservoir tank and radiator.

    Allow engine to cool before checking COOLANT level  .

    If the COOLANT level in the reservoir tank and/or radiator is below the proper range, skip the following steps and go to DIAGNOSTIC PROCEDURE  .

  2. Confirm whether customer filled the COOLANT or not. If customer filled the COOLANT, skip the following steps and go to DIAGNOSTIC PROCEDURE  .
  3. Turn ignition switch ON.
    Fig 1: Determining Engine COOLANT Level In Reservoir Tank
    G00345268Courtesy of NISSAN MOTOR CO., U.S.A.
  4. Perform COOLING FAN in ACTIVE TEST mode with CONSULT-II.
  5. If the results are NG, go to DIAGNOSTIC PROCEDURE  .
    Fig 2: Displaying Cooling Fan In Active Test Mode
    G00345269Courtesy of NISSAN MOTOR CO., U.S.A.

With GST 

  1. Check the COOLANT level in the reservoir tank and radiator. See Fig 1 .

    Allow engine to cool before checking COOLANT level  .

    If the COOLANT level in the reservoir tank and/or radiator is below the proper range, skip the following steps and go to DIAGNOSTIC PROCEDURE  .

  2. Confirm whether customer filled the COOLANT or not. If customer filled the COOLANT, skip the following steps and go to DIAGNOSTIC PROCEDURE  .
  3. Disconnect engine COOLANT temperature sensor harness connector.
  4. Connect 150ohm resistor to engine COOLANT temperature sensor harness connector.
  5. Start engine and make sure that cooling fan operates at higher speed than low speed.

    Be careful not to overheat engine  .

  6. If NG, go to DIAGNOSTIC PROCEDURE  .