LEMON Manuals: Even more car manuals for everyone
Home >> Infiniti >> 2004 >> FX45 >> Repair and Diagnosis >> Engine Performance >> Engine Control System >> Basic Service Procedure >> Idle Speed and Ignition Timing Check >> Ignition Timing >> Method A

Method A

  1. Attach timing light to loop wire as shown in Fig 1 .
    Fig 1: Attaching Timing Light To Loop Wire
    G00344417Courtesy of NISSAN MOTOR CO., U.S.A.
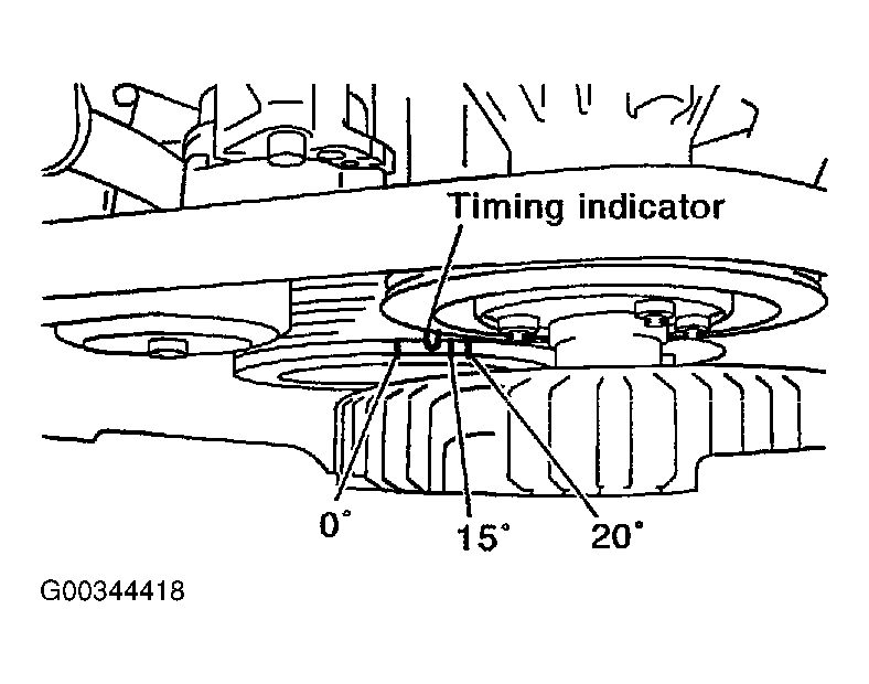
  2. Check ignition timing. See Fig 2 .
    Fig 2: Locating Timing Indicator
    G00344418Courtesy of NISSAN MOTOR CO., U.S.A.