LEMON Manuals: Even more car manuals for everyone
Home >> Infiniti >> 2004 >> FX45 >> Repair and Diagnosis >> Brakes >> Traction Control >> Brake Control System >> System Description >> System Diagram

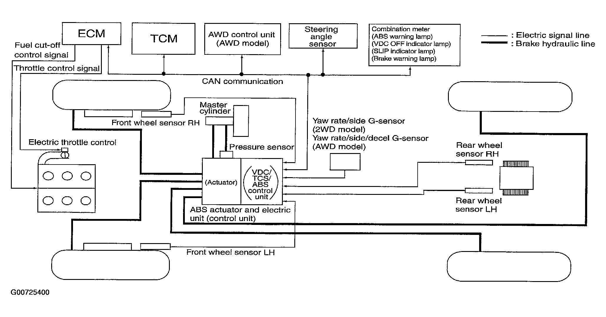
System Diagram

Fig 1: Identifying Brake Control System Components & Circuits
G00725400Courtesy of NISSAN MOTOR CO., U.S.A.