LEMON Manuals: Even more car manuals for everyone
Home >> Infiniti >> 2004 >> FX35 AWD >> Repair and Diagnosis >> Accessories & Equipment >> Communication Devices >> Body Control Module >> BCM (Body Control Module) >> System Description >> Combination Switch Reading Function

Combination Switch Reading Function

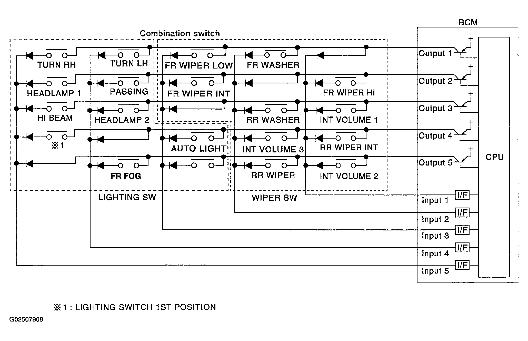
  1. Description
    • BCM reads combination switch (light, wiper) status, and controls related systems such as head lamps and wipers, according to the results.
    • BCM reads information of a maximum of 20 switches by combining five output terminals (OUTPUT 1-5) and five input terminals (INPUT 1-5).
  2. Operation description
    • BCM activates transistors of output terminals (OUTPUT 1-5) periodically and, allows current to flow in turn.
    • If any (1 or more) switches are turned ON, circuit of output terminals (OUTPUT 1-5) and input terminals (INPUT 1-5) becomes active.
    • At this time, transistors of output terminals (OUTPUT 1-5) are activated to allow current to flow. When voltage of input terminals (INPUT 1-5) corresponding to that switch changes, interface in BCM detects voltage change, and BCM determines that switch is ON.
      Fig 1: Combination Switch Reading Function/BCM Circuit
      G02507908Courtesy of NISSAN MOTOR CO., U.S.A.
  3. BCM - Operation table of combination switches
    • BCM reads operation status of combination switch using combinations shown in table below.
      Fig 2: Combination Switch Outputs (1 Of 2)
      G02507909Courtesy of NISSAN MOTOR CO., U.S.A.
      NOTE: Headlamp has a dual system switch.
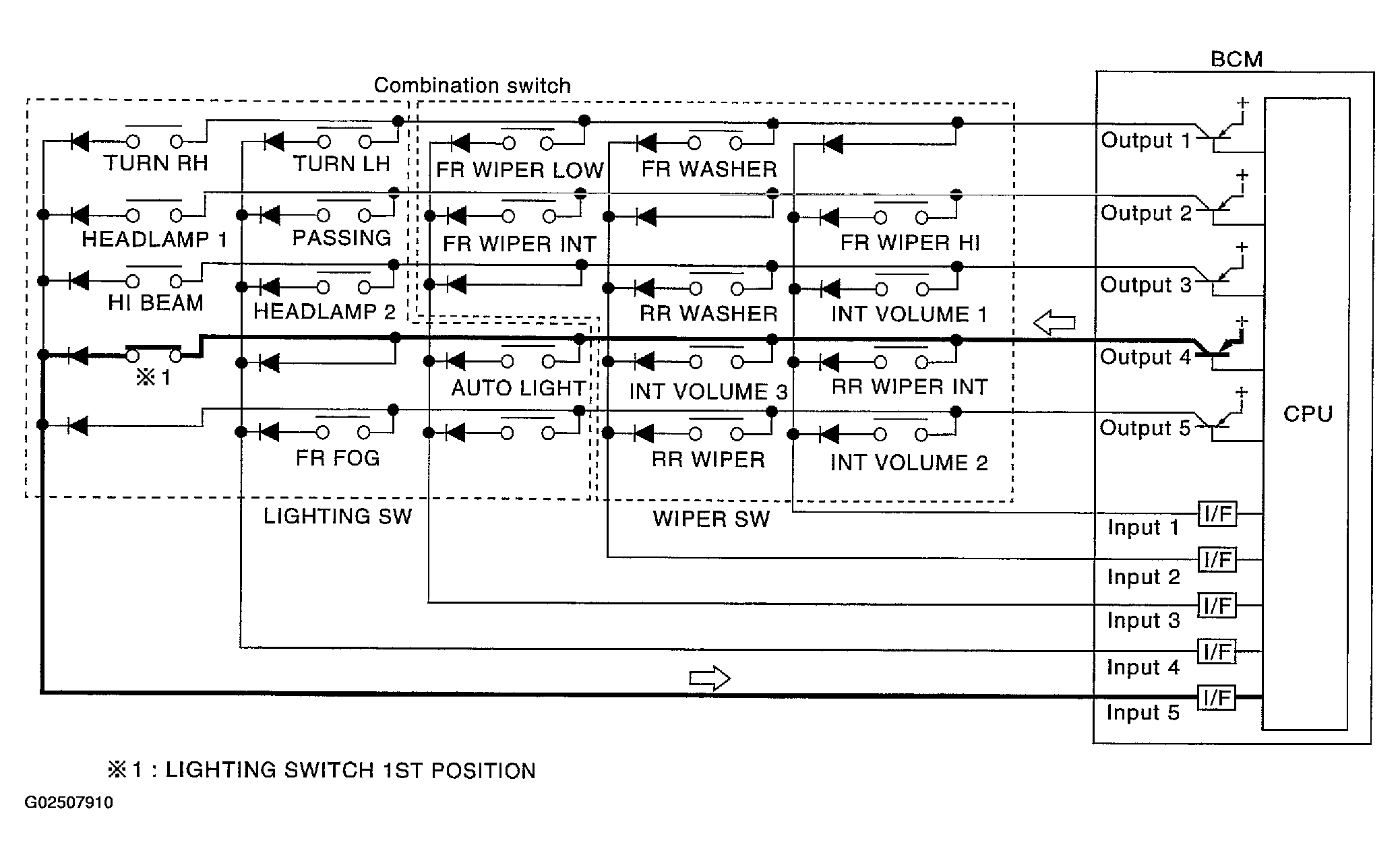
  4. Sample operation: (When lighting switch 1st position turned ON)
    • When lighting switch 1st position is turned ON, contact in combination switch turns ON. At this time if OUTPUT 4 transistor is activated, BCM detects that voltage changes in INPUT 5.
    • When OUTPUT 4 transistor is ON, BCM detects that voltage changes in INPUT 5, and judges that lighting switch 1st position is ON. Then BCM sends tail lamp ON signal to IPDM E/R using CAN communication.
    • When OUTPUT 4 transistor is activated again, BCM detects that voltage changes in INPUT 5, and recognizes that lighting switch 1st position is continuously ON.
      Fig 3: Combination Switch Outputs (2 Of 2)
      G02507910Courtesy of NISSAN MOTOR CO., U.S.A.
      NOTE: Each OUTPUT terminal transistor is activated at 10 ms intervals. Therefore after switch is turned ON, electrical loads are activated with time delay. But this time delay is so short that it cannot be detected by human senses.
  5. Operation mode
    • Combination switch reading function has operation modes shown below.
    1. Normal status
      • When BCM is not in sleep status, OUTPUT terminals (1-5) each turn ON-OFF every 10 ms.
    2. Sleep status
      • When BCM is in sleep status, transistors of OUTPUT 1 and 5 stop the output, and BCM enters low current consumption mode. OUTPUT (2, 3, and 4) turn ON-OFF every 10 ms, and only input from light switch system is accepted.
        Fig 4: Normal & Sleep Status Outputs
        G02507911Courtesy of NISSAN MOTOR CO., U.S.A.