LEMON Manuals: Even more car manuals for everyone
Home >> Infiniti >> 2000 >> I30 Base, RE4F04B >> Repair and Diagnosis >> Engine Performance >> System >> Engine Controls - System & Component Testing >> Computerized Engine Controls >> Powertrain Control Module (Pcm) >> Power & Ground Circuits (Altima)

Power & Ground Circuits (Altima)

  1. Start engine. If engine starts, go to step  6. If engine does not start, turn ignition off and on. Measure voltage between ground and PCM harness connector terminal No. 38 (Red wire) by backprobing. For PCM location, see Fig 1. For PCM terminal identification, see Fig 2. If battery voltage exists, go to next step. If battery voltage does not exist, repair open or short circuit. See appropriate wiring diagram in WIRING DIAGRAMS article.
    Fig 1: Locating PCM Harness Connector (Altima)
    G98F01295Courtesy of NISSAN MOTOR CO., U.S.A.
  2. Turn ignition off. Disconnect PCM harness connector. Check continuity between ground and PCM harness connector terminals No. 10, 19, 39, 43, 106, 112 and 118 (Black wires). See Fig 2. If continuity exists on all wires, go to next step. If continuity does not exist on any wire, repair open in effected wire. See appropriate wiring diagram in WIRING DIAGRAMS article.
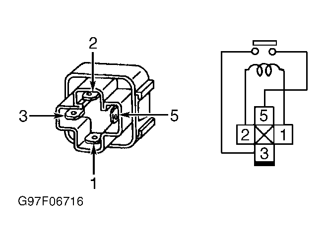
  3. Disconnect ECCS relay, located near PCM. Measure voltage between ground and ECCS relay harness connector terminals No. 1 and 3 (White/Blue wires). See Figure. If battery voltage exists, go to next step. If battery voltage does not exist, repair open or short circuit. See appropriate wiring diagram in WIRING DIAGRAMS article.
  4. Turn ignition off. Check continuity of White/Green wire between PCM harness connector terminal No. 4 and ECCS relay harness connector terminal No. 2. See Fig 2 and Figure . If continuity exists, go to next step. If continuity does not exist, repair open in White/Green wire.
    Fig 2: Identifying PCM Connector Terminals (Altima)
    G95C31502Courtesy of NISSAN MOTOR CO., U.S.A.
  5. Reconnect all harness connectors. Check fuel injectors and circuits. See FUEL CONTROL  under FUEL SYSTEM. Repair as necessary. If no problems are found, go to next step.
  6. Measure voltage between ground and PCM harness connector terminals No. 70 and 113 (White/Blue wires) by backprobing. If battery voltage exists, go to next step. If battery voltage does not exist, repair open or short circuit. See appropriate wiring diagram in WIRING DIAGRAMS article.
  7. While turning ignition on then off, measure voltage between ground and PCM harness connector terminals No. 56 and 61 (White/Red wires) by backprobing. Battery voltage should exist for a few seconds after ignition is turned off. If voltage is as specified, go to step  13. If battery voltage does not exist, go to next step. If battery voltage exists for more than a few seconds after ignition is turned off, go to step  12.
  8. Turn ignition off. Disconnect PCM harness connector. Disconnect ECCS relay located near PCM. Check continuity of White/Red wires between ECCS relay harness connector terminal No. 5 and PCM harness connector terminals No. 56 and 61. See Fig 2 and Figure . If continuity exists on both wires, go to next step. If continuity does not exist on either wire, repair open in White/Red wire(s).
  9. Measure voltage between ground and ECCS relay harness connector terminals No. 1 and 3 (White/Blue wires). See Figure. If battery voltage exists, go to next step. If battery voltage does not exist, repair open or short circuit. See appropriate wiring diagram in WIRING DIAGRAMS article.
  10. Turn ignition off. Check continuity of White/Green wire between PCM harness connector terminal No. 4 and ECCS relay harness connector terminal No. 2. See Fig 2 and Figure . If continuity exists, go to next step. If continuity does not exist, repair open in White/Green wire.
  11. Check continuity of White/Blue wires between PCM harness connector terminal No. 113 and ECCS relay harness connector terminals No. 1 and 3. If continuity exists, go to next step. If continuity does not exist, repair open in White/Blue wire(s).
  12. Check ECCS relay. See RELAYS  under RELAYS & SOLENOIDS. Replace, if necessary and retest system. If relay is okay, go to next step.
  13. Turn ignition off. Disconnect PCM harness connector. Check continuity between ground and PCM harness connector terminals No. 10, 19, 39, 43, 106, 112 and 118 (Black wires). See Fig 2. If continuity exists on all wires, go to next step. If continuity does not exist on any wire, repair open in appropriate wire.
  14. No problem is indicated at this time. Problem may be intermittent. See TESTING PROCEDURE under SELF-DIAGNOSTIC SYSTEM in SELF-DIAGNOSTICS - INTRODUCTION article.