LEMON Manuals: Even more car manuals for everyone
Home >> Hyundai >> 2019 >> Ioniq Plug-In Hybrid >> Repair and Diagnosis >> Engine Performance >> Engine Control Systems >> Engine Control/Fuel System - General Information (PHEV) >> Troubleshooting >> Basic Troubleshooting >> Electrical Circuit Inspection Procedure

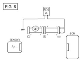
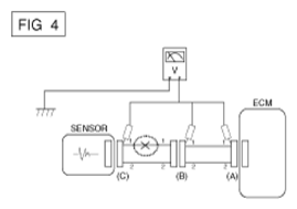
Electrical Circuit Inspection Procedure