LEMON Manuals: Even more car manuals for everyone
Home >> Hyundai >> 2017 >> Veloster Turbo, Standard Trans >> Repair and Diagnosis >> Engine Performance >> Engine Control Systems >> Engine Control System - 1.6L T-GDI >> Engine Control Module (ECM) >> Repair Procedures >> Removal

Repair Procedures: Removal

NOTE: When replacing the ECM, the vehicle equipped with immobilizer must be performed the procedure as below.
[In the case of installing used ECM] 
  1. Perform "Neutral mode" procedure with GDS.

    (Refer to IMMOBILIZER SYSTEM )

  2. Insert the key and turn it to the IGN ON and OFF position. Then the ECM key register process is completed automatically.

In the case of installing new ECM 
  • Insert the key and turn it to the IGN ON and OFF position.

Then the ECM key register process is completed automatically.
  1. Turn ignition switch OFF and disconnect the negative (-) battery cable.
  2. Disconnect the ECM Connector (A).
    Fig 1: Locating ECM Connector
    G12124760Courtesy of HYUNDAI MOTOR AMERICA
  3. Remove the battery.

    (Refer to "CHARGING SYSTEM ")

  4. Remove the mounting bolts and nut, and then remove the ECM assembly (A).
    Fig 2: Locating ECM Assembly With Mounting Bolts And Nut
    G12124761Courtesy of HYUNDAI MOTOR AMERICA
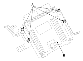
  5. Remove the ECM (B) after removing 4 nuts (A) from the bracket.
    Fig 3: Locating ECM And Nuts
    G12124762Courtesy of HYUNDAI MOTOR AMERICA