LEMON Manuals: Even more car manuals for everyone
Home >> Hyundai >> 2016 >> Azera Base >> Repair and Diagnosis >> Engine Performance >> Engine Control Systems >> Engine Control/Fuel System - General Information >> Troubleshooting >> Basic Troubleshooting >> Electrical Circuit Inspection Procedure

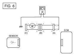
Electrical Circuit Inspection Procedure