LEMON Manuals: Even more car manuals for everyone
Home >> Hyundai >> 2015 >> Veloster Turbo R-Spec >> Repair and Diagnosis >> Engine Performance >> Engine Control Systems >> Engine Control System - 1.6L T-GDI >> Engine Control Module (ECM) >> Repair Procedures >> Removal

Repair Procedures: Removal

NOTE: When replacing the ECM, the vehicle equipped with Immobilizer must be performed like the procedure depicted.

[In The Case Of Installing Used ECM] 

  1. Perform "Neutral Mode" procedure with GDS. (Refer to: "Immobilizer" in BE procedure).
  2. Insert the key and turn it to the IGN ON and OFF position. Then the ECM key register process is completed automatically.

[In The Case Of Installing New ECM] 

Then the ECM key register process is completed automatically.

  1. Turn ignition switch OFF and disconnect the negative (-) battery cable.
  2. Disconnect the ECM Connector (A).
    Fig 1: ECM Connector Location
    G10604518Courtesy of HYUNDAI MOTOR AMERICA
  3. Remove the Battery (Refer to: "Charging System" in EM procedure).
  4. Remove the Mounting Bolts and Nut and then remove the ECM Assembly (A).
    Fig 2: ECM Assembly With Mounting Bolts And Nut
    G10604519Courtesy of HYUNDAI MOTOR AMERICA
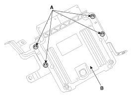
  5. Remove the ECM (B) after removing 4 Nuts (A) from the Bracket.
Fig 3: ECM And ECM Bracket Nuts
G10604520Courtesy of HYUNDAI MOTOR AMERICA