LEMON Manuals: Even more car manuals for everyone
Home >> Hyundai >> 2013 >> Elantra Limited >> Repair and Diagnosis >> Transmission >> Transmission Control Systems >> Automatic Transaxle Control System >> Transaxle Control Module (TCM) >> Schematic Diagrams >> Circuit Diagram >> 2014

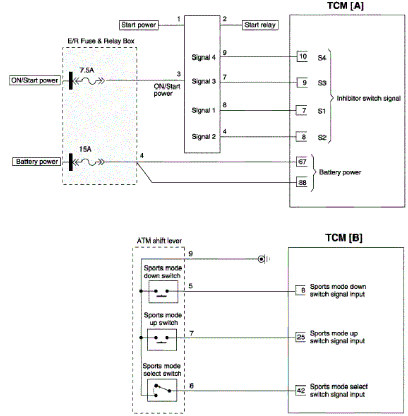
Circuit Diagram: 2014

Fig 1: TCM Circuit Diagram (1 Of 2)
G00559814Courtesy of HYUNDAI MOTOR AMERICA
Fig 2: TCM Circuit Diagram (2 Of 2)
G00559815Courtesy of HYUNDAI MOTOR AMERICA