LEMON Manuals: Even more car manuals for everyone
Home >> Hyundai >> 2011 >> Accent GL >> Repair and Diagnosis >> Engine Performance >> Engine Control Systems >> Engine Control System >> Engine Control Module (ECM) >> Schematic Diagrams >> Circuit Diagram

Circuit Diagram

[A/T] 

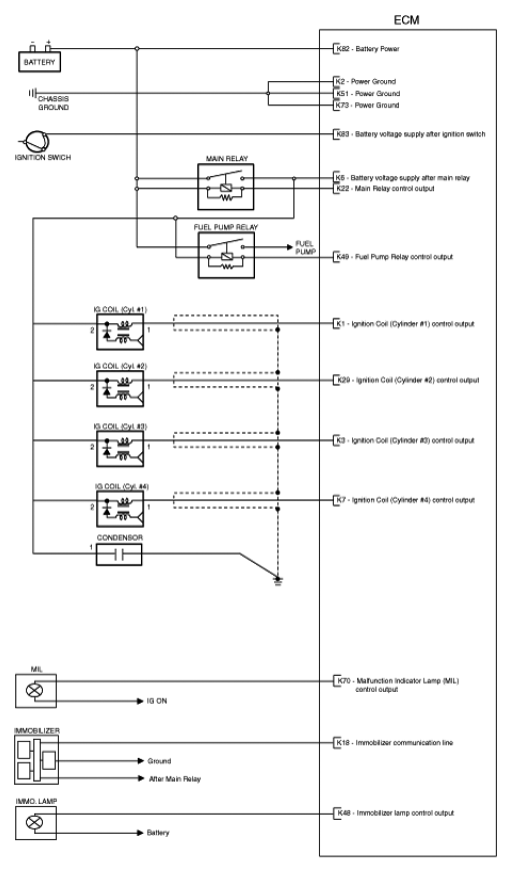
Fig 1: Engine Control Module Circuit Diagram - A/T (1 Of 4)
G06879410Courtesy of HYUNDAI MOTOR CO.
Fig 2: Engine Control Module Circuit Diagram - A/T (2 Of 4)
G06879411Courtesy of HYUNDAI MOTOR CO.
Fig 3: Engine Control Module Circuit Diagram - A/T (3 Of 4)
G06879412Courtesy of HYUNDAI MOTOR CO.
Fig 4: Engine Control Module Circuit Diagram - A/T (4 Of 4)
G06879413Courtesy of HYUNDAI MOTOR CO.

[M/T] 

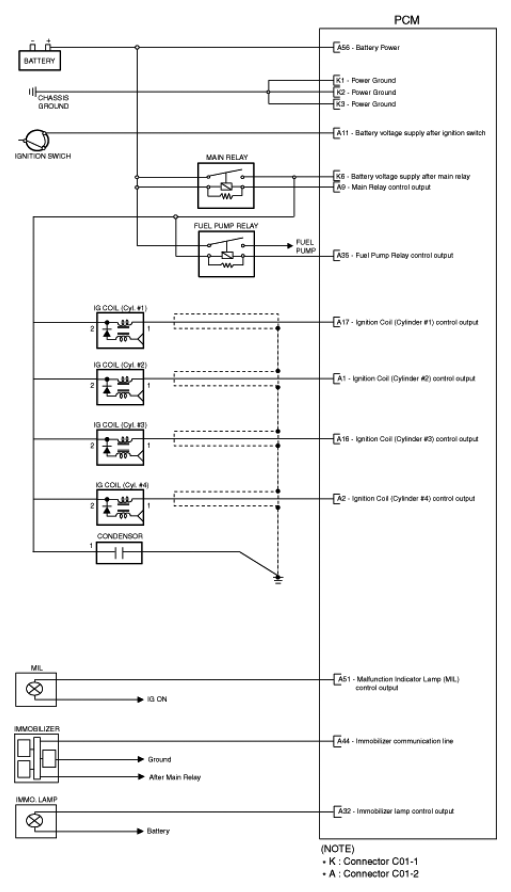
Fig 5: Engine Control Module Circuit Diagram - M/T (1 Of 4)
G06879414Courtesy of HYUNDAI MOTOR CO.
Fig 6: Engine Control Module Circuit Diagram - M/T (2 Of 4)
G06879415Courtesy of HYUNDAI MOTOR CO.
Fig 7: Engine Control Module Circuit Diagram - M/T (3 Of 4)
G06879416Courtesy of HYUNDAI MOTOR CO.
Fig 8: Engine Control Module Circuit Diagram - M/T (4 Of 4)
G06879417Courtesy of HYUNDAI MOTOR CO.