LEMON Manuals: Even more car manuals for everyone
Home >> Hyundai >> 2011 >> Accent GL >> Repair and Diagnosis >> Engine Performance >> Engine Control Systems >> Engine Control System >> Engine Control Module (ECM) >> Repair procedures >> Replacement

Repair procedures: Replacement

CAUTION:
  • In the case of the vehicle equipped with immobilizer, perform "Key Teaching" procedure together (Refer to "TEACHING PROCEDURES " ).
  1. Turn ignition switch OFF and disconnect the negative (-) battery cable.
  2. Disconnect the ECM connector (A).
    Fig 1: Locating ECM Connector
    G06879418Courtesy of HYUNDAI MOTOR CO.
  3. Remove the air cleaner & ECM assembly (Refer to "ENGINE AND TRANSAXLE ASSEMBLY " ).
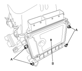
  4. Remove the ECM mounting bolts (A) and remove the ECM (B).
    Fig 2: Locating ECM Mounting Bolts And ECM
    G06879419Courtesy of HYUNDAI MOTOR CO.
  5. Install a new ECM.

    ECM installation bolts: 

    9.8 ~ 11.8 N.m (1.0 ~ 1.2 kgf.m, 7.2 ~ 8.7 lb-ft)

  6. Perform "Key Teaching" procedure (Refer to "TEACHING PROCEDURES " ).