LEMON Manuals: Even more car manuals for everyone
Home >> Hyundai >> 2009 >> Santa Fe SE, AWD >> Repair and Diagnosis >> Engine Performance >> Engine Control Systems >> Engine Control System (Fuel System (3.3L)) >> CVVT Oil Temperature Sensor (OTS) >> Circuit Diagram

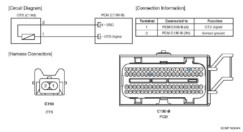
Circuit Diagram

Fig 1: CVVT Oil Temperature Sensor Circuit Diagram With Connector Terminals
G06217955Courtesy of HYUNDAI MOTOR CO.