LEMON Manuals: Even more car manuals for everyone
Home >> Hyundai >> 2002 >> XG350 Base >> Repair and Diagnosis >> Accessories & Equipment >> Memory Modules >> Driver's Position Memory System >> Component Tests >> Integrated Memory System (IMS) >> Regeneration Function

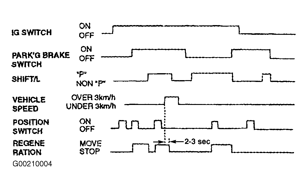
Regeneration Function

Prohibition condition of regeneration:

Ignition switch OFF.

Parking brake switch OFF and shift lever positioned except "P" position (A/T).

Parking brake switch OFF (M/T).

Vehicle speed is over 3 km/h.

Stop switch ON.

During the manual switch operation. See Fig 1 .

Fig 1: Regeneration Function
G00210004Courtesy of HYUNDAI MOTOR CO.