LEMON Manuals: Even more car manuals for everyone
Home >> Hyundai >> 2002 >> XG350 Base >> Repair and Diagnosis >> Accessories & Equipment >> Memory Modules >> Driver's Position Memory System >> Component Tests >> Electronic Time & Alarm Control System (ETACS) Function >> Washer

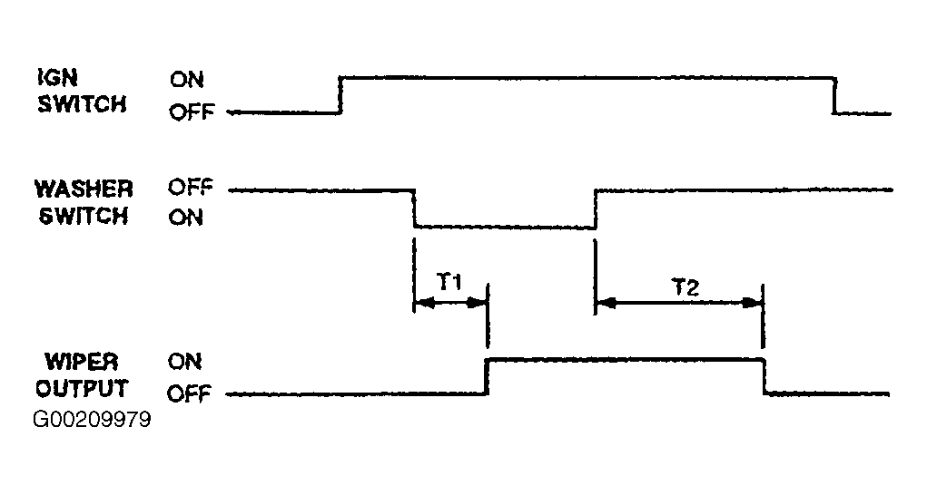
Electronic Time & Alarm Control System (ETACS) Function: Washer

Time specification:

T1: 0.6 sec.

T2: 2.5-3.8 sec.

This function should be operated preferentially even though the variable intermittent wiper is operating. See Fig 1 .

Fig 1: Checking Washer
G00209979Courtesy of HYUNDAI MOTOR CO.