LEMON Manuals: Even more car manuals for everyone
Home >> Hyundai >> 2002 >> XG350 Base >> Repair and Diagnosis >> Accessories & Equipment >> Memory Modules >> Driver's Position Memory System >> Component Tests >> Electronic Time & Alarm Control System (ETACS) Function >> Variable Intermittent Wiper

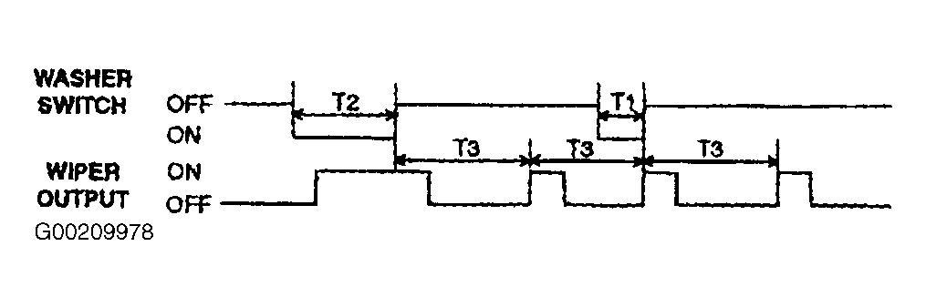
Variable Intermittent Wiper

Time specification:

T1: Less than 0.6 sec.

T2: More over 0.6 sec.

T3: Intermittent time: