LEMON Manuals: Even more car manuals for everyone
Home >> Hyundai >> 2002 >> XG350 Base >> Repair and Diagnosis >> Accessories & Equipment >> Memory Modules >> Driver's Position Memory System >> Component Tests >> Electronic Time & Alarm Control System (ETACS) Function >> Seat Belt Warning

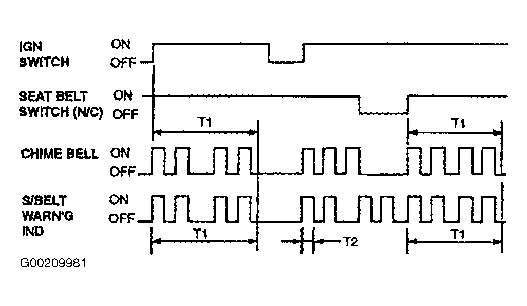
Seat Belt Warning

Time specification:

T1: 5-7 sec.

2: 0.2-0.4 sec. See Fig 1 .

Fig 1: Checking Seat Belt Warning
G00209981Courtesy of HYUNDAI MOTOR CO.