LEMON Manuals: Even more car manuals for everyone
Home >> Hyundai >> 2002 >> XG350 Base >> Repair and Diagnosis >> Accessories & Equipment >> Memory Modules >> Driver's Position Memory System >> Component Tests >> Electronic Time & Alarm Control System (ETACS) Function >> Rear Window Defogger

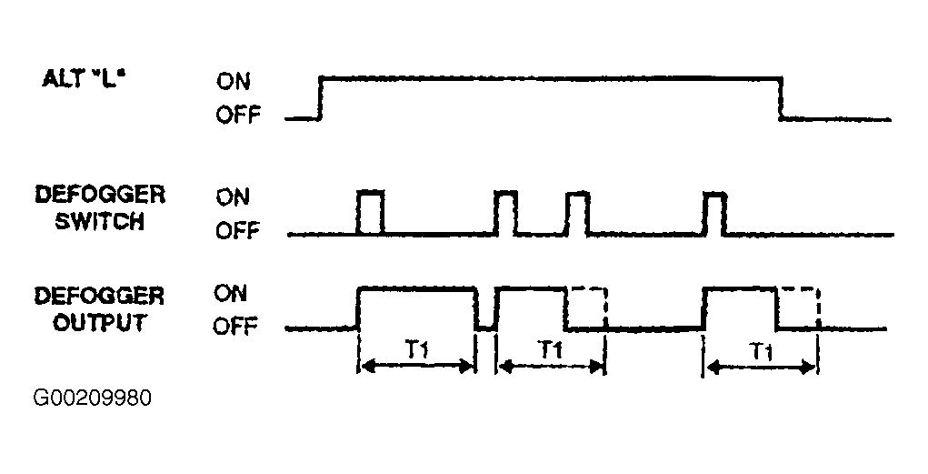
Rear Window Defogger

Time specification T1: 14-16 min. See Fig 1 .

Fig 1: Checking Rear Window Defogger
G00209980Courtesy of HYUNDAI MOTOR CO.